龙虎榜丨天龙集团今日涨10.34%,营业部席位合计净买入2842.97万元

http://ddx.gubit.cn  2023-11-06 16:35  天龙集团(300063)公司分析

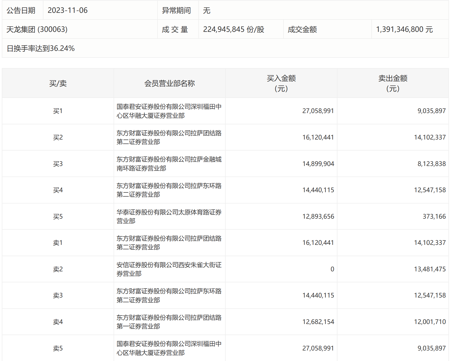
11月6日,天龙集团今日涨10.34%,全天换手率达36.24%,振幅达21.55%。龙虎榜数据显示,营业部席位合计净买入2842.97万元。其中,国泰君安证券深圳福田中心区华融大厦证券营业部、东方财富证券拉萨团结路第二证券营业部分别买入2705.90万元、1612.04万元;东方财富证券拉萨团结路第二证券营业部、安信证券西安朱雀大街证券营业部分别卖出1410.23万元、1348.15万元。