龙虎榜丨天龙集团今日涨停,知名游资作手新一净买入3950.47万元

http://ddx.gubit.cn  2023-11-07 20:29  天龙集团(300063)公司分析

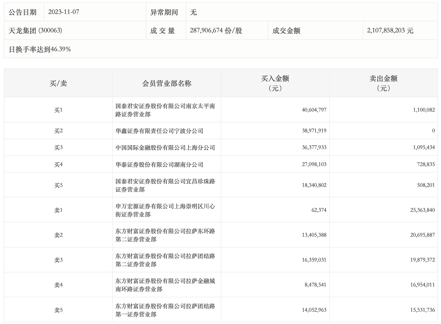
11月7日,天龙集团今日涨停,龙虎榜数据显示,上榜营业部席位全天成交3.16亿元,占当日总成交金额比例为14.97%。其中,买入金额为2.14亿元,卖出金额为1.02亿元,合计净买入1.12亿元。

具体来看,知名游资现身龙虎榜,作手新一(国泰君安证券南京太平南路证券营业部)、华鑫证券宁波分公司分别买入4060.48万元、3897.19万元;申万宏源证券有限公司上海崇明区川心街证券营业部、东方财富证券拉萨东环路第二证券营业部分别卖出2536.38万元、2069.59万元。