碧水源:2024年第一季度净利润9137.77万元 同比增长89.74%

中证智能财讯 碧水源(300070)4月25日披露2024年一季报。2024年第一季度,公司实现营业总收入18.21亿元,同比增长6.13%;归母净利润9137.77万元,同比增长89.74%;扣非净利润8803.25万元,同比增长161.14%;经营活动产生的现金流量净额为1.20亿元,上年同期为-2.83亿元;报告期内,碧水源基本每股收益为0.0252元,加权平均净资产收益率为0.33%。


2024年第一季度,公司毛利率为26.00%,同比上升4.91个百分点;净利率为5.82%,较上年同期上升3.36个百分点。

数据显示,2024年第一季度公司加权平均净资产收益率为0.33%,较上年同期增长0.15个百分点;公司2024年第一季度投入资本回报率为0.27%,较上年同期增长0.14个百分点。

2024年第一季度,公司经营活动现金流净额为1.20亿元,同比增加4.02亿元;筹资活动现金流净额9.33亿元,同比增加5.28亿元;投资活动现金流净额-4.98亿元,上年同期为-5.72亿元。

2024年第一季度,公司营业收入现金比为129.00%,净现比为130.78%。

资产重大变化方面,截至2024年一季度末,公司其他非流动资产较上年末增加0.34%,占公司总资产比重下降0.73个百分点;预付款项较上年末增加31.05%,占公司总资产比重上升0.49个百分点;货币资金较上年末增加11.93%,占公司总资产比重上升0.48个百分点;合同资产较上年末增加11.69%,占公司总资产比重上升0.44个百分点。

负债重大变化方面,截至2024年一季度末,公司长期借款较上年末增加6.72%,占公司总资产比重上升0.79个百分点;应付债券较上年末增加99.63%,占公司总资产比重上升0.63个百分点;一年内到期的非流动负债较上年末增加27.32%,占公司总资产比重上升0.37个百分点;短期借款较上年末减少4.87%,占公司总资产比重下降0.63个百分点。

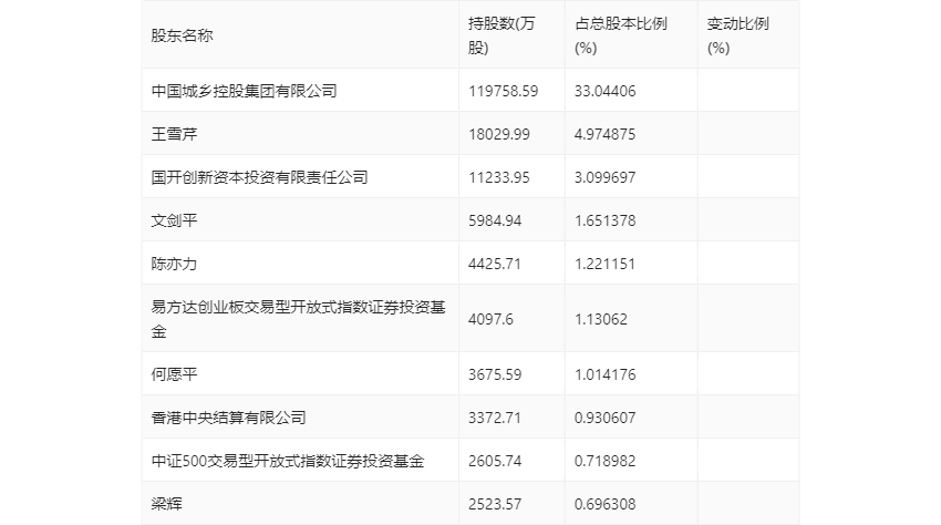
一季报显示,2024年一季度末公司十大流通股东中,新进股东为文剑平、中证500交易型开放式指数证券投资基金,取代了上年末的朱辉、丁明。在具体持股比例上,易方达创业板交易型开放式指数证券投资基金、香港中央结算有限公司持股有所上升,王雪芹、陈亦力持股有所下降。

筹码集中度方面,截至2024年一季度末,公司股东总户数为8.33万户,较上年末下降了2466户,降幅2.88%;户均持股市值由上年末的21.09万元上升至21.49万元,增幅为1.90%。
