龙虎榜丨数字政通今日涨停,深股通专用买入1.31亿元并卖出5715.5万元

http://ddx.gubit.cn  2023-05-08 16:44  数字政通(300075)公司分析

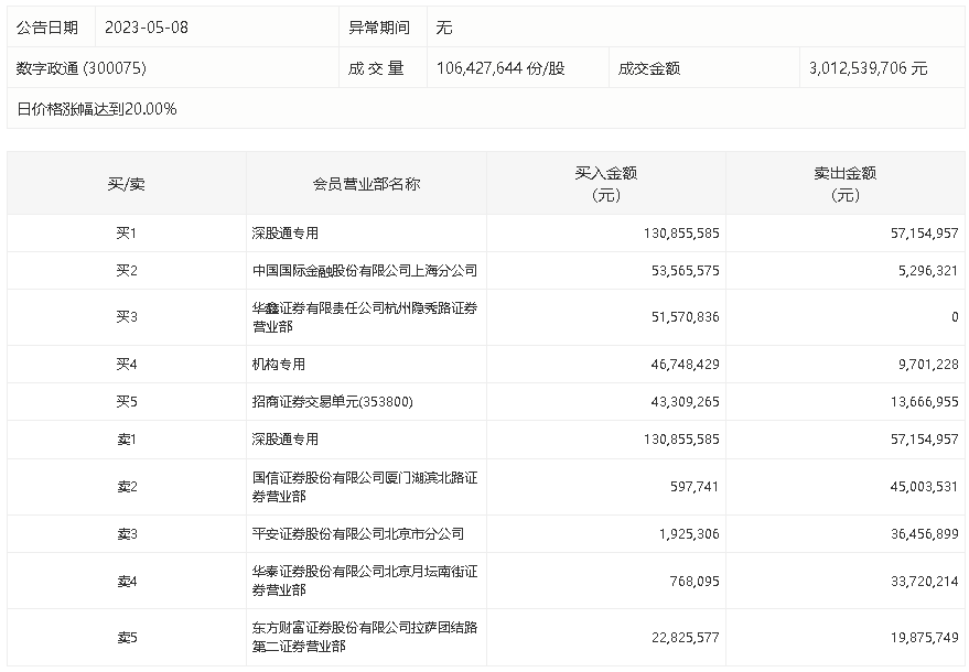
5月8日,数字政通今日涨停,龙虎榜数据显示,上榜营业部席位全天成交5.73亿元,占当日总成交金额比例为19.02%。其中,买入金额为3.52亿元,卖出金额为2.21亿元,合计净买入1.31亿元。

具体来看,机构买入4674.84万元,卖出970.12万元,合计净买入3704.72万元。此外,深股通专用、中国国际金融上海分公司分别买入1.31亿元、5356.56万元;深股通专用、国信证券厦门湖滨北路证券营业部分别卖出5715.50万元、4500.35万元。