查股网.CN
首页
选股
热点
资金
板块
大盘
DDX
游资
龙虎
导航
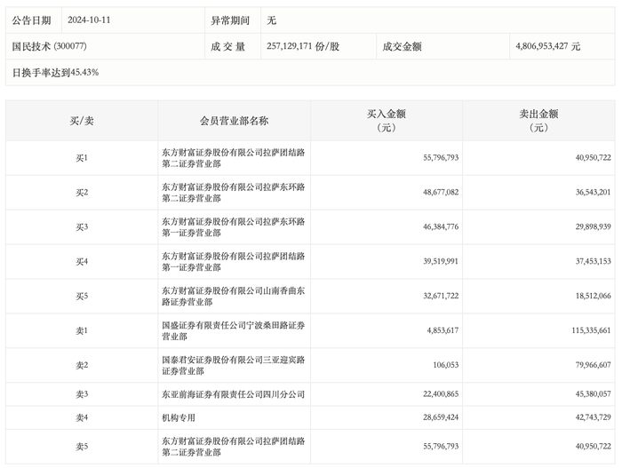
龙虎榜丨国民技术今日跌12.91%,一机构净卖出1408.43万元
龙虎榜丨国民技术今日跌12.91%,一机构净卖出1408.43万元
查股网
2024-10-11 20:38
国民技术(300077)个股分析
10月11日,
国民技术
今日跌12.91%,成交额48.07亿元,换手率45.43%,盘后龙虎榜数据显示,一机构净卖出1408.43万元。