龙虎榜 | 恒信东方今日涨停,上榜营业部席位合计净买入9024.88万元

http://ddx.gubit.cn  2023-06-01 17:05  恒信东方(300081)公司分析

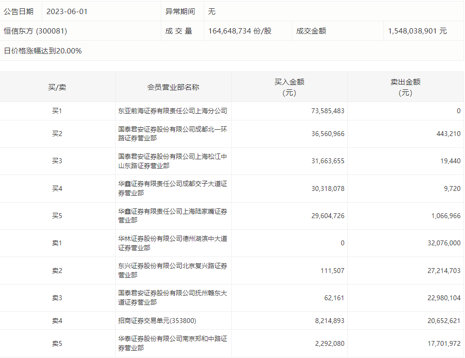
6月1日,恒信东方今日涨停,龙虎榜数据显示,上榜营业部席位全天成交3.35亿元,占当日总成交金额比例为21.61%。其中,买入金额为2.12亿元,卖出金额为1.22亿元,合计净买入9024.88万元。

具体来看,东亚前海证券上海分公司、国泰君安证券成都北一环路证券营业部分别买入7358.55万元、3656.10万元;华林证券德州湖滨中大道证券营业部、东兴证券北京复兴路证券营业部分别卖出3207.60万元、2721.47万元。