查股网.CN
首页
选股
热点
资金
板块
大盘
DDX
游资
龙虎
导航
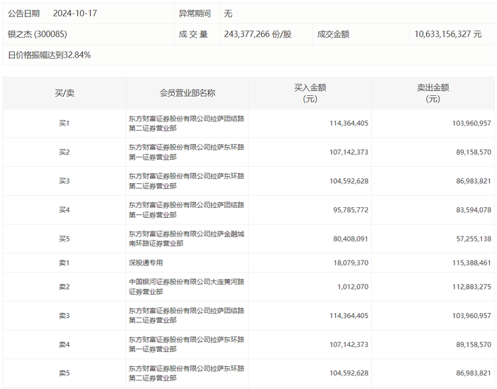
龙虎榜 | 银之杰今日跌0.09%,深股通专用席位买入1807.94万元并卖出1.15亿元
龙虎榜 | 银之杰今日跌0.09%,深股通专用席位买入1807.94万元并卖出1.15亿元
查股网
2024-10-17 16:33
银之杰(300085)个股分析
银之杰
今日跌0.09%,成交额106.33亿元,换手率38.34%,盘后龙虎榜数据显示,深股通专用席位买入1807.94万元并卖出1.15亿元,“拉萨天团”包揽买方席位,陈小群席位净卖出1.12亿元。