龙虎榜丨金刚光伏今日涨停,营业部席位合计净买入1.01亿元

查股网  2023-12-28 23:03  金刚光伏(300093)个股分析

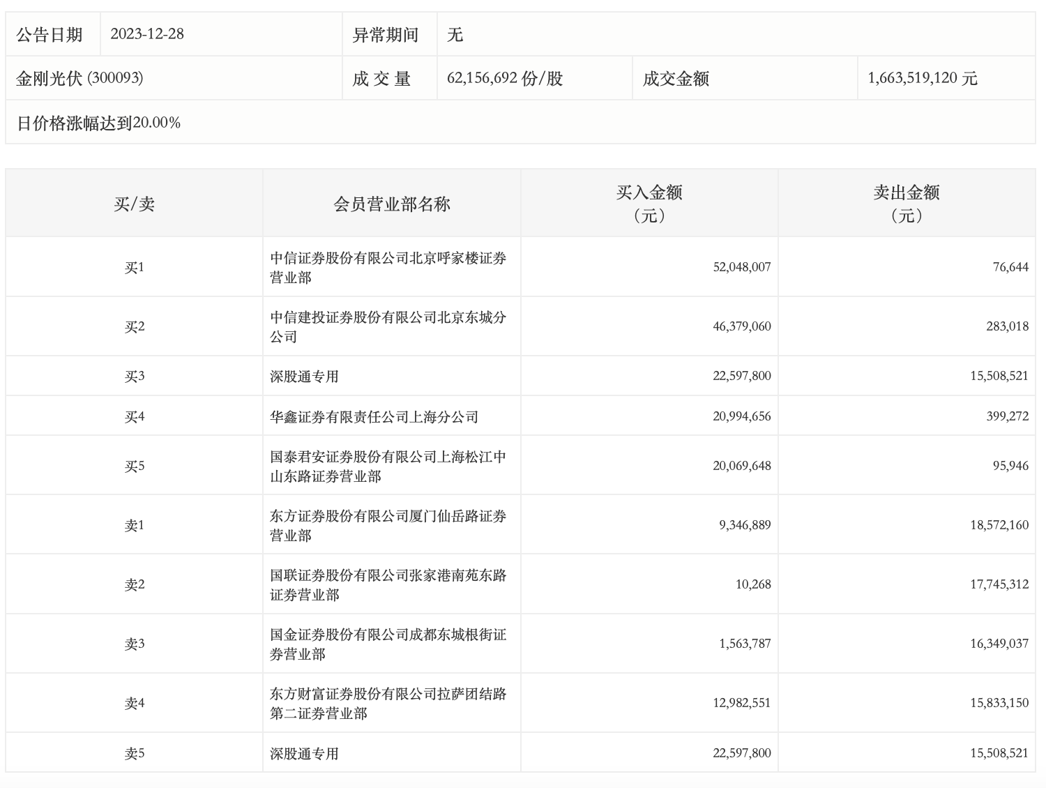
12月28日,金刚光伏今日涨停,全天换手率达28.88%,振幅达22.49%。龙虎榜数据显示,营业部席位合计净买入1.01亿元。其中,中信证券北京呼家楼证券营业部、中信建投证券北京东城分公司分别买入5204.80万元、4637.91万元;东方证券厦门仙岳路证券营业部、国联证券张家港南苑东路证券营业部分别卖出1857.22万元、1774.53万元。