龙虎榜丨高新兴今日涨停,知名游资孙哥净买入3159.68万元

查股网  2024-11-05 21:14  高新兴(300098)个股分析

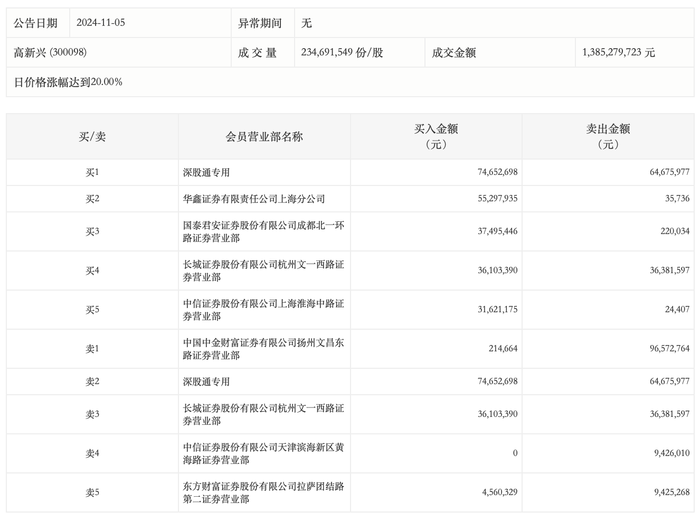
11月5日,高新兴今日涨停,龙虎榜数据显示,上榜营业部席位全天成交4.57亿元,占当日总成交金额比例为32.97%。其中,买入金额为2.4亿元,卖出金额为2.17亿元,合计净买入2318.38万元。

具体来看,知名游资现身龙虎榜,孙哥(中信证券股份有限公司上海淮海中路证券营业部)净买入3159.68万元。此外,深股通专用、华鑫证券上海分公司分别买入7465.27万元、5529.79万元;中国中金财富证券有限公司扬州文昌东路证券营业部、深股通专用分别卖出9657.28万元、6467.60万元。