双林股份:2024年上半年净利润2.48亿元 同比增长282.89%

中证智能财讯 双林股份(300100)8月8日披露2024年半年度报告。2024年上半年,公司实现营业收入21.03亿元,同比增长15.73%;归母净利润2.48亿元,同比增长282.89%;扣非净利润1.58亿元,同比增长205.37%;经营活动产生的现金流量净额为4.04亿元,同比增长110.39%;报告期内,双林股份基本每股收益为0.6193元,加权平均净资产收益率为10.71%。

以8月7日收盘价计算,双林股份目前市盈率(TTM)约为18.72倍,市净率(LF)约为2.1倍,市销率(TTM)约为1.12倍。

公司近年市盈率(TTM)、市净率(LF)、市销率(TTM)历史分位图如下所示:



根据半年报,公司第二季度实现营业总收入10.4亿元,同比增长11.99%,环比下降2.20%;归母净利润1.71亿元,同比增长655.48%,环比增长119.91%;扣非净利润8572.64万元,同比增长263.35%,环比增长18.02%。

资料显示,公司是一家从事汽车部件的研发、制造与销售业务的专业智造企业。
2024年上半年,公司毛利率为19.93%,同比上升1.46个百分点;净利率为11.83%,较上年同期上升8.26个百分点。从单季度指标来看,2024年第二季度公司毛利率为18.82%,同比上升1.39个百分点,环比下降2.20个百分点;净利率为16.45%,较上年同期上升13.97个百分点,较上一季度上升9.14个百分点。

盈利能力方面, 2024年半年度公司加权平均净资产收益率为10.71%,同比上升7.69个百分点。公司2024年上半年投入资本回报率为7.73%,较上年同期上升5.25个百分点。

2024年上半年,公司经营活动现金流净额为4.04亿元,同比增长110.39%;筹资活动现金流净额-2.75亿元,同比减少3.15亿元;投资活动现金流净额-244.53万元,上年同期为-1.14亿元。
进一步统计发现,2024年上半年公司自由现金流为4.71亿元,相比上年同期增长992.41%。

2024年上半年,公司营业收入现金比为105.09%,净现比为162.61%。

营运能力方面,2024年上半年,公司公司总资产周转率为0.37次,上年同期为0.32次(2023年上半年行业平均值为0.33次,公司位居同行业20/39);固定资产周转率为1.31次,上年同期为1.06次(2023年上半年行业平均值为1.71次,公司位居同行业28/39);公司应收账款周转率、存货周转率分别为1.85次、1.71次。

2024年上半年,公司期间费用为2.49亿元,同比减少652.2万元;期间费用率为11.83%,同比下降2.22个百分点。其中,销售费用同比增长1.77%,管理费用同比增长8.99%,研发费用同比下降17.58%,财务费用同比下降11.95%。

资产重大变化方面,截至2024年上半年末,公司应收款项融资较上年末减少30.42%,占公司总资产比重下降3.42个百分点;货币资金较上年末增加20.53%,占公司总资产比重上升2.46个百分点;固定资产较上年末减少1.14%,占公司总资产比重上升1.96个百分点;应收账款较上年末减少15.06%,占公司总资产比重下降1.63个百分点。

负债重大变化方面,截至2024年上半年末,公司应付票据较上年末减少27.24%,占公司总资产比重下降3.16个百分点;应付账款较上年末减少13.23%,占公司总资产比重下降1.17个百分点;短期借款较上年末减少10.46%,占公司总资产比重下降0.41个百分点;一年内到期的非流动负债较上年末减少36.33%,占公司总资产比重下降1.00个百分点。

从应收账款账龄结构来看,截至2024年6月30日,公司账龄在1年以内的应收账款余额为10.57亿元,较上年末下降1.81亿元,占应收账款总额比例为96.86%,较上年末下降0.27个百分点。

从存货变动来看,截至2024年上半年末,公司存货账面价值为9.47亿元,占净资产的40.19%,较上年末减少7702.4万元。其中,存货跌价准备为1.08亿元,计提比例为10.27%。

在偿债能力方面,公司2024年上半年末资产负债率为57.12%,相比上年末下降5.87个百分点;有息资产负债率为17.63%,相比上年末下降1.85个百分点。

2024年上半年,公司流动比率为1.16,速动比率为0.82。

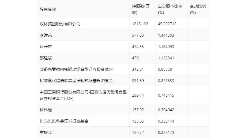
半年报显示,2024年上半年末公司十大流通股东中,新进股东为招商量化精选股票型发起式证券投资基金、长心长流私募证券投资基金,取代了一季度末的金莺、交银施罗德精选混合型证券投资基金。在具体持股比例上,交银施罗德内核驱动混合型证券投资基金、中国工商银行股份有限公司-国泰估值优势混合型证券投资基金(LOF)、章根荣持股有所上升。

值得注意的是,根据半年报数据,双林股份22.71%股份处于质押状态。其中,第一大股东双林集团股份有限公司质押9100.00万股公司股份,占其全部持股的50.13%。
筹码集中度方面,截至2024年上半年末,公司股东总户数为2.57万户,较一季度末下降了1574户,降幅5.77%;户均持股市值由一季度末的14.07万元上升至16.79万元,增幅为19.33%。

指标注解:
市盈率
=总市值/净利润。当公司亏损时市盈率为负,此时用市盈率估值没有实际意义,往往用市净率或市销率做参考。
市净率
=总市值/净资产。市净率估值法多用于盈利波动较大而净资产相对稳定的公司。
市销率
=总市值/营业收入。市销率估值法通常用于亏损或微利的成长型公司。
文中市盈率和市销率采用TTM方式,即以截至最近一期财报(含预报)12个月的数据计算。市净率采用LF方式,即以最近一期财报数据计算。
市盈率为负时,不显示当期分位数,会导致折线图中断。