龙虎榜丨亚光科技今日涨停,知名游资作手新一净卖出1834.28万元

http://ddx.gubit.cn  2023-10-27 22:25  亚光科技(300123)公司分析

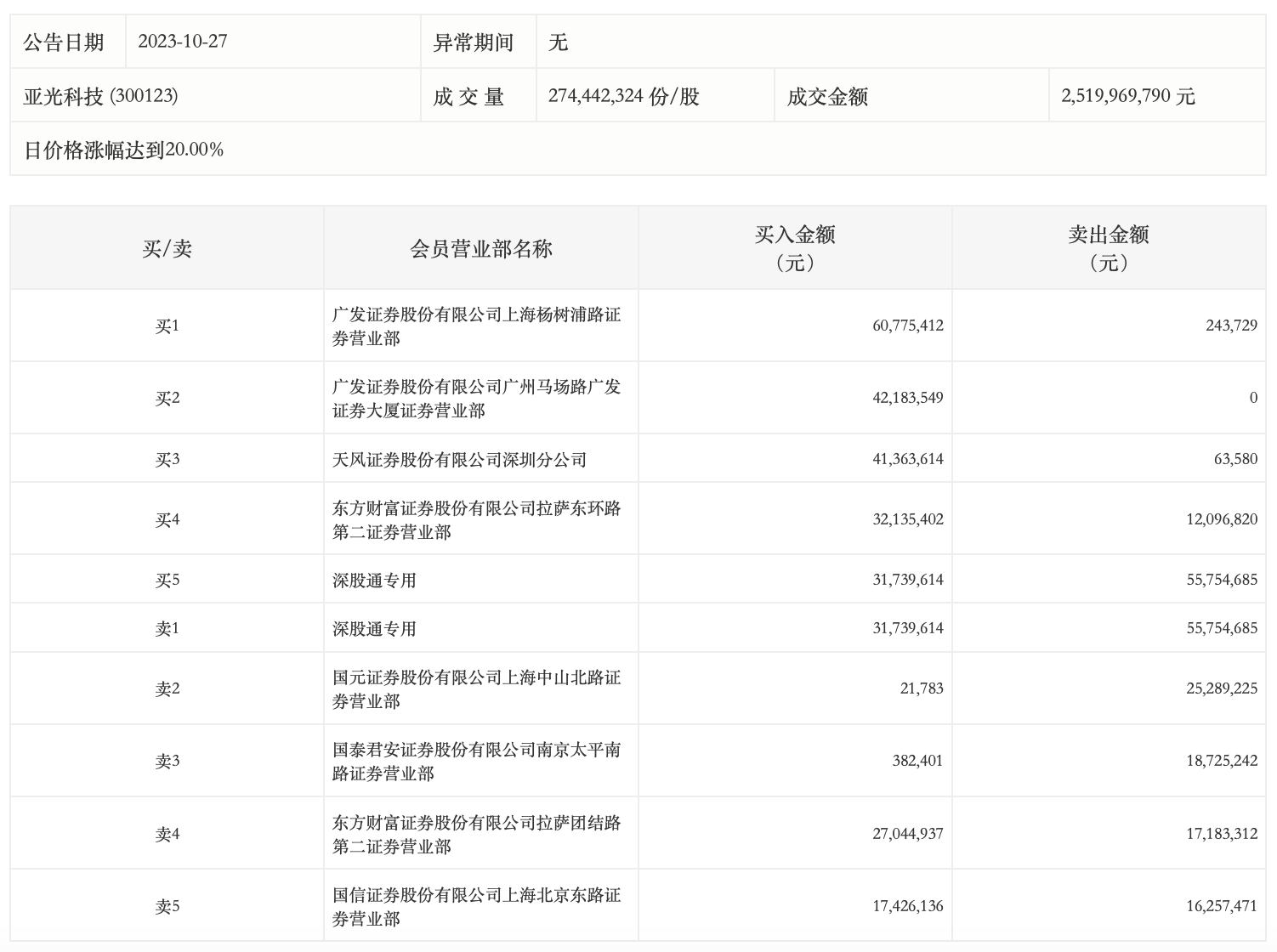
10月27日,亚光科技今日涨停,龙虎榜数据显示,上榜营业部席位全天成交3.99亿元,占当日总成交金额比例为15.82%。其中,买入金额为2.53亿元,卖出金额为1.46亿元,合计净买入1.07亿元。

具体来看,知名游资现身龙虎榜,作手新一(国泰君安证券股份有限公司南京太平南路证券营业部)净卖出1834.28万元。此外,广发证券上海杨树浦路证券营业部、广发证券广州马场路广发证券大厦证券营业部分别买入6077.54万元、4218.35万元;深股通专用、国元证券上海中山北路证券营业部分别卖出5575.47万元、2528.92万元。