龙虎榜 | 天瑞仪器今日涨停,知名游资章盟主卖出840.36万元

http://ddx.gubit.cn  2023-06-01 16:59  天瑞仪器(300165)公司分析

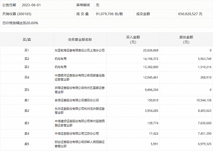
6月1日,天瑞仪器今日涨停,龙虎榜数据显示,上榜营业部席位全天成交1.25亿元,占当日总成交金额比例为19.23%。其中,买入金额为7641.8万元,卖出金额为4875.2万元,合计净买入2766.6万元。

具体来看,机构买入2758.12万元,卖出747.4万元,合计净买入2010.72万元。此外,知名游资现身龙虎榜,东亚前海证券上海分公司、中国银河证券成都建设路证券营业部分别买入2262.69万元、1204.55万元;安信证券揭阳分公司、章盟主(东方证券杭州龙井路证券营业部)分别卖出1054.41万元、840.36万元。