东富龙:2024年第一季度净利润6466.41万元 同比下降72.01%

中证智能财讯 东富龙(300171)4月29日披露2024年一季报。2024年第一季度,公司实现营业总收入11.09亿元,同比下降22.07%;归母净利润6466.41万元,同比下降72.01%;扣非净利润5981.86万元,同比下降73.44%;经营活动产生的现金流量净额为2.02亿元,上年同期为-929.19万元;报告期内,东富龙基本每股收益为0.085元,加权平均净资产收益率为0.82%。


2024年第一季度,公司毛利率为30.54%,同比下降7.91个百分点;净利率为6.14%,较上年同期下降10.96个百分点。

数据显示,2024年第一季度公司加权平均净资产收益率为0.82%,较上年同期下降2.24个百分点;公司2024年第一季度投入资本回报率为0.70%,较上年同期下降2.25个百分点。

2024年第一季度,公司经营活动现金流净额为2.02亿元,同比增加2.11亿元;筹资活动现金流净额-1344.18万元,同比减少1641.26万元;投资活动现金流净额-1.69亿元,上年同期为-8.35亿元。

2024年第一季度,公司营业收入现金比为116.62%,净现比为312.64%。

资产重大变化方面,截至2024年一季度末,公司存货较上年末减少3.78%,占公司总资产比重下降1.25个百分点;固定资产较上年末增加17.07%,占公司总资产比重上升1.03个百分点;交易性金融资产较上年末增加25.00%,占公司总资产比重上升1.02个百分点;在建工程较上年末减少11.85%,占公司总资产比重下降0.91个百分点。

负债重大变化方面,截至2024年一季度末,公司合同负债较上年末增加8.53%,占公司总资产比重上升1.87个百分点;应付账款较上年末减少17.07%,占公司总资产比重下降1.60个百分点;应付职工薪酬较上年末减少38.88%,占公司总资产比重下降0.39个百分点;长期递延收益较上年末增加26.47%,占公司总资产比重上升0.20个百分点。

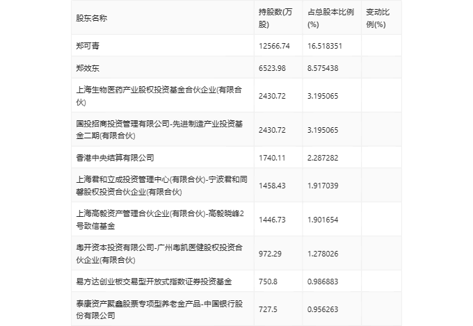
一季报显示,2024年一季度末公司十大流通股东中,新进股东为易方达创业板交易型开放式指数证券投资基金,取代了上年末的金信深圳成长灵活配置混合型发起式证券投资基金。在具体持股比例上,郑效东持股有所上升,香港中央结算有限公司、上海高毅资产管理合伙企业(有限合伙)-高毅晓峰2号致信基金、泰康资产聚鑫股票专项型养老金产品-中国银行股份有限公司持股有所下降。

筹码集中度方面,截至2024年一季度末,公司股东总户数为3.28万户,较上年末增长了980户,增幅3.08%;户均持股市值由上年末的43.00万元下降至33.62万元,降幅为21.81%。
