龙虎榜丨力源信息今日涨9.5%,机构合计净卖出2147.68万元

http://ddx.gubit.cn  2023-11-13 16:48  力源信息(300184)公司分析

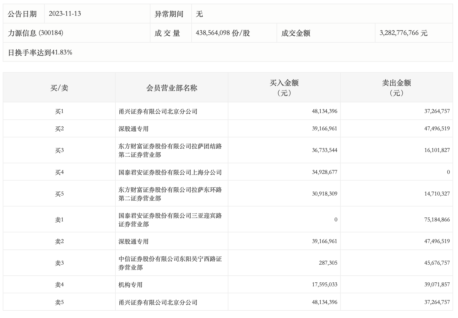
11月13日,力源信息今日涨9.5%,全天换手率达41.83%,振幅达9.06%。龙虎榜数据显示,营业部席位合计净卖出6774.27万元。其中,机构买入1759.5万元,卖出3907.19万元,合计净卖出2147.68万元。此外,甬兴证券有限公司北京分公司、深股通专用分别买入4813.44万元、3916.70万元;国泰君安证券三亚迎宾路证券营业部、深股通专用分别卖出7518.49万元、4749.65万元。