易华录:2024年一季度亏损1.86亿元

中证智能财讯 易华录(300212)4月25日披露2024年一季报。2024年第一季度,公司实现营业总收入1.94亿元,同比下降47.41%;归母净利润亏损1.86亿元,上年同期亏损5185.65万元;扣非净利润亏损1.80亿元,上年同期亏损5288.85万元;经营活动产生的现金流量净额为-1.00亿元,上年同期为-1.32亿元;报告期内,易华录基本每股收益为-0.2576元,加权平均净资产收益率为-5.32%。

2024年第一季度,公司毛利率为14.74%,同比下降18.68个百分点;净利率为-95.55%,较上年同期下降83.49个百分点。

数据显示,2024年第一季度公司加权平均净资产收益率为-5.32%,较上年同期下降3.99个百分点;公司2024年第一季度投入资本回报率为-1.42%,较上年同期下降1.64个百分点。

2024年第一季度,公司经营活动现金流净额为-1.00亿元,同比增加3180.85万元;筹资活动现金流净额1.55亿元,同比减少6087.00万元;投资活动现金流净额-6821.51万元,上年同期为-2084.83万元。

2024年第一季度,公司营业收入现金比为181.73%。

资产重大变化方面,截至2024年一季度末,公司货币资金较上年末减少18.60%,占公司总资产比重下降1.04个百分点;合同资产较上年末增加1.48%,占公司总资产比重上升1.03个百分点;应收账款较上年末减少4.70%,占公司总资产比重下降0.36个百分点;开发支出较上年末增加11.72%,占公司总资产比重上升0.31个百分点。

负债重大变化方面,截至2024年一季度末,公司短期借款较上年末增加19.20%,占公司总资产比重上升4.48个百分点;其他流动负债较上年末减少50.60%,占公司总资产比重下降3.08个百分点;应付账款较上年末减少3.06%,占公司总资产比重下降0.27个百分点;应付票据较上年末减少54.81%,占公司总资产比重下降0.51个百分点。

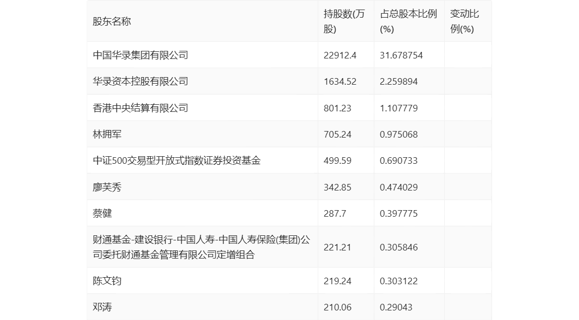
一季报显示,2024年一季度末公司十大流通股东中,新进股东为财通基金-建设银行-中国人寿-中国人寿保险(集团)公司委托财通基金管理有限公司定增组合,取代了上年末的广州恒迅供应链有限公司。在具体持股比例上,香港中央结算有限公司、中证500交易型开放式指数证券投资基金持股有所上升,廖芙秀、蔡健、邓涛持股有所下降。

筹码集中度方面,截至2024年一季度末,公司股东总户数为7.38万户,较上年末下降了6276户,降幅7.84%;户均持股市值由上年末的28.41万元下降至23.75万元,降幅为16.40%。
