易华录:2024年上半年亏损3.68亿元

中证智能财讯 易华录(300212)8月28日披露2024年半年报。2024年上半年,公司实现营业总收入3.38亿元,同比下降34.34%;归母净利润亏损3.68亿元,上年同期亏损2.98亿元;扣非净利润亏损3.61亿元,上年同期亏损3.34亿元;经营活动产生的现金流量净额为-2.96亿元,上年同期为-3.09亿元;报告期内,易华录基本每股收益为-0.5117元,加权平均净资产收益率为-10.80%。

以8月27日收盘价计算,易华录目前市盈率(TTM)约为-5.09倍,市净率(LF)约为3.1倍,市销率(TTM)约为16.98倍。

公司近年市盈率(TTM)、市净率(LF)、市销率(TTM)历史分位图如下所示:



根据半年报,公司第二季度实现营业总收入1.44亿元,同比下降1.27%,环比下降25.81%;归母净利润-1.82亿元,同比增长26.05%,环比增长2.30%;扣非净利润-1.81亿元,同比增长35.51%,环比下降0.53%。

分产品来看,2024年上半年公司主营业务中,解决方案收入2.12亿元,同比下降36.52%,占营业收入的62.69%;服务咨询收入1.09亿元,同比下降23.70%,占营业收入的32.21%;产品销售收入0.17亿元,同比下降54.95%,占营业收入的5.11%。

2024年上半年,公司毛利率为17.81%,同比下降7.62个百分点;净利率为-108.16%,较上年同期下降51.94个百分点。从单季度指标来看,2024年第二季度公司毛利率为21.95%,同比上升16.73个百分点,环比上升7.21个百分点;净利率为-125.16%,较上年同期上升42.80个百分点,较上一季度下降29.61个百分点。

分产品看,解决方案、服务咨询、产品销售2024年上半年毛利率分别为11.35%、27.24%、37.69%。

数据显示,2024年上半年公司加权平均净资产收益率为-10.80%,较上年同期下降2.89个百分点;公司2024年上半年投入资本回报率为-2.80%,较上年同期下降1.02个百分点。

2024年上半年,公司经营活动现金流净额为-2.96亿元,同比增加1353.85万元;筹资活动现金流净额1.23亿元,同比减少3.58亿元;投资活动现金流净额-1.33亿元,上年同期为-6887.15万元。
进一步统计发现,2024年上半年公司自由现金流为-5.53亿元,上年同期为-9.86亿元。

2024年上半年,公司营业收入现金比为139.33%。

营运能力方面,2024年上半年,公司总资产周转率为0.03次,上年同期为0.04次(2023年上半年行业平均值为0.19次,公司位居同行业130/131);固定资产周转率为0.27次,上年同期为0.69次(2023年上半年行业平均值为4.24次,公司位居同行业120/131);公司应收账款周转率、存货周转率分别为0.22次、0.71次。

2024年上半年,公司期间费用为2.70亿元,较上年同期减少1.27亿元;但期间费用率为79.79%,较上年同期上升2.76个百分点。其中,销售费用同比下降51.9%,管理费用同比下降39.52%,研发费用同比下降54.83%,财务费用同比下降5.94%。

资产重大变化方面,截至2024年上半年末,公司货币资金较上年末减少50.60%,占公司总资产比重下降2.90个百分点;应收账款较上年末增加11.73%,占公司总资产比重上升1.89个百分点;开发支出较上年末增加25.18%,占公司总资产比重上升0.71个百分点;应收票据较上年末减少97.05%,占公司总资产比重下降0.39个百分点。

负债重大变化方面,截至2024年上半年末,公司应付账款较上年末减少8.72%,占公司总资产比重下降0.77个百分点;短期借款较上年末增加6.22%,占公司总资产比重上升2.37个百分点,主要系报告期内短期借款新增集团委贷;应付票据较上年末减少75.29%,占公司总资产比重下降0.70个百分点;长期应付款合计较上年末减少19.83%,占公司总资产比重下降0.42个百分点。

从存货变动来看,截至2024年上半年末,公司存货账面价值为4.03亿元,占净资产的12.5%,较上年末增加1765.51万元。其中,存货跌价准备为2016.83万元,计提比例为4.76%。

在偿债能力方面,公司2024年上半年末资产负债率为70.58%,相比上年末上升1.45个百分点;有息资产负债率为36.69%,相比上年末上升3.14个百分点。

2024年上半年,公司流动比率为1.05,速动比率为0.99。

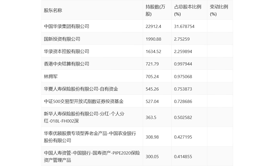
半年报显示,2024年上半年末公司十大流通股东中,新进股东为国新投资有限公司、华夏人寿保险股份有限公司-自有资金、新华人寿保险股份有限公司-分红-个人分红-018L-FH002深、华泰优颐股票专项型养老金产品-中国农业银行股份有限公司、中国人寿资管-中国银行-国寿资产-PIPE2020保险资产管理产品,取代了一季度末的廖芙秀、蔡健、财通基金-建设银行-中国人寿-中国人寿保险(集团)公司委托财通基金管理有限公司定增组合、陈文钧、邓涛。在具体持股比例上,中证500交易型开放式指数证券投资基金持股有所上升,香港中央结算有限公司持股有所下降。

筹码集中度方面,截至2024年上半年末,公司股东总户数为6.78万户,较一季度末下降了5955户,降幅8.07%;户均持股市值由一季度末的23.75万元下降至17.94万元,降幅为24.46%。

指标注解:
市盈率
=总市值/净利润。当公司亏损时市盈率为负,此时用市盈率估值没有实际意义,往往用市净率或市销率做参考。
市净率
=总市值/净资产。市净率估值法多用于盈利波动较大而净资产相对稳定的公司。
市销率
=总市值/营业收入。市销率估值法通常用于亏损或微利的成长型公司。
文中市盈率和市销率采用TTM方式,即以截至最近一期财报(含预报)12个月的数据计算。市净率采用LF方式,即以最近一期财报数据计算。
市盈率为负时,不显示当期分位数,会导致折线图中断。