佳讯飞鸿:2024年上半年净利润2657.06万元 同比增长1.92%

中证智能财讯 佳讯飞鸿(300213)8月20日披露2024年半年报。2024年上半年,公司实现营业总收入4.61亿元,同比增长10.48%;归母净利润2657.06万元,同比增长1.92%;扣非净利润2399.97万元,同比下降0.63%;经营活动产生的现金流量净额为-1149.41万元,上年同期为-5026.41万元;报告期内,佳讯飞鸿基本每股收益为0.05元,加权平均净资产收益率为1.20%。

以8月19日收盘价计算,佳讯飞鸿目前市盈率(TTM)约为52.09倍,市净率(LF)约为1.59倍,市销率(TTM)约为3.02倍。

公司近年市盈率(TTM)、市净率(LF)、市销率(TTM)历史分位图如下所示:



根据半年报,公司第二季度实现营业总收入2.88亿元,同比增长18.90%,环比增长67.34%;归母净利润3279.12万元,同比增长0.37%,环比增长627.14%;扣非净利润3101.39万元,同比下降2.79%,环比增长542.16%。

资料显示,公司作为国内领先的智慧指挥调度全产业链综合解决方案提供商,紧跟时代技术变革,始于初心,臻于匠心,坚持“专业化、精细化、特色化、新颖化”的发展路线,深耕以5G、人工智能、云计算、物联网等为代表的新ICT技术在垂直行业的应用,赋能行业和企业的数字化、网络化和智能化建设,实现公司健康、稳定、可持续发展。
分产品来看,2024年上半年公司主营业务中,指挥调度类收入2.52亿元,同比下降8.59%,占营业收入的54.74%;智能应用类收入1.19亿元,同比增长45.74%,占营业收入的25.80%;行业物联网应用类收入0.82亿元,同比增长61.95%,占营业收入的17.81%。

2024年上半年,公司毛利率为42.33%,同比上升2.12个百分点;净利率为4.82%,较上年同期下降1.29个百分点。从单季度指标来看,2024年第二季度公司毛利率为44.55%,同比上升1.98个百分点,环比上升5.93个百分点;净利率为10.47%,较上年同期下降2.83个百分点,较上一季度上升15.11个百分点。

分产品看,指挥调度类、智能应用类、行业物联网应用类2024年上半年毛利率分别为44.03%、30.00%、55.89%。

数据显示,2024年上半年公司加权平均净资产收益率为1.20%,较上年同期增长0.03个百分点;公司2024年上半年投入资本回报率为0.98%,较上年同期下降0.08个百分点。

2024年上半年,公司经营活动现金流净额为-1149.41万元,同比增加3877.01万元;筹资活动现金流净额-5764.94万元,同比减少230.48万元;投资活动现金流净额-6354.64万元,上年同期为344.16万元,主要系报告期内,公司购买银行理财支出的现金较上年同期增加所致。
进一步统计发现,2024年上半年公司自由现金流为-6456.81万元,上年同期为-4344.61万元。

2024年上半年,公司营业收入现金比为128.23%,净现比为-43.26%。

营运能力方面,2024年上半年,公司公司总资产周转率为0.15次,上年同期为0.14次(2023年上半年行业平均值为0.19次,公司位居同行业9/12);固定资产周转率为2.57次,上年同期为2.61次(2023年上半年行业平均值为4.07次,公司位居同行业8/12);公司应收账款周转率、存货周转率分别为0.40次、1.03次。

2024年上半年,公司期间费用为1.82亿元,较上年同期增加1646.20万元;但期间费用率为39.43%,较上年同期下降0.19个百分点。其中,销售费用同比增长7.82%,管理费用同比增长7.78%,研发费用同比增长10.88%,财务费用同比增长143.78%。
资料显示,财务费用的变动主要因为报告期内,公司充分利用财务杠杆,贷款规模增加导致贷款利息增加。

资产重大变化方面,截至2024年上半年末,公司货币资金较上年末减少26.69%,占公司总资产比重下降3.94个百分点;存货较上年末增加25.06%,占公司总资产比重上升1.99个百分点;应收账款较上年末减少6.88%,占公司总资产比重下降1.85个百分点;预付款项较上年末增加66.08%,占公司总资产比重上升0.93个百分点。

负债重大变化方面,截至2024年上半年末,公司应付职工薪酬较上年末减少81.56%,占公司总资产比重下降0.86个百分点;短期借款较上年末减少4.50%,占公司总资产比重下降0.23个百分点;应交税费较上年末减少29.70%,占公司总资产比重下降0.24个百分点;其他应付款(含利息和股利)较上年末减少68.60%,占公司总资产比重下降0.23个百分点。

从存货变动来看,截至2024年上半年末,公司存货账面价值为2.86亿元,占净资产的12.9%,较上年末增加5727.78万元。根据财报,公司本期没有计提存货跌价准备。

在偿债能力方面,公司2024年上半年末资产负债率为28.09%,相比上年末下降1.68个百分点;有息资产负债率为8.97%,相比上年末下降0.25个百分点。

2024年上半年,公司流动比率为2.39,速动比率为2.05。

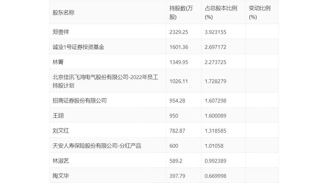
半年报显示,2024年上半年末公司十大流通股东中,持股最多的为郑贵祥,占比3.92%。十大流通股东名单相比2024年一季报维持不变。在具体持股比例上,诚业1号证券投资基金、王翊、刘文红、天安人寿保险股份有限公司-分红产品、陶文华持股有所上升,招商证券股份有限公司持股有所下降。

筹码集中度方面,截至2024年上半年末,公司股东总户数为3.71万户,较一季度末下降了2398户,降幅6.06%;户均持股市值由一季度末的10.58万元下降至9.11万元,降幅为13.89%。

指标注解:
市盈率
=总市值/净利润。当公司亏损时市盈率为负,此时用市盈率估值没有实际意义,往往用市净率或市销率做参考。
市净率
=总市值/净资产。市净率估值法多用于盈利波动较大而净资产相对稳定的公司。
市销率
=总市值/营业收入。市销率估值法通常用于亏损或微利的成长型公司。
文中市盈率和市销率采用TTM方式,即以截至最近一期财报(含预报)12个月的数据计算。市净率采用LF方式,即以最近一期财报数据计算。
市盈率为负时,不显示当期分位数,会导致折线图中断。