东方电热:2024年第一季度净利润8574.77万元 同比增长27.14%

中证智能财讯 东方电热(300217)4月26日披露2024年一季报。2024年第一季度,公司实现营业总收入8.76亿元,同比下降3.44%;归母净利润8574.77万元,同比增长27.14%;扣非净利润8222.20万元,同比增长31.98%;经营活动产生的现金流量净额为-4595.35万元,上年同期为7949.32万元;报告期内,东方电热基本每股收益为0.0578元,加权平均净资产收益率为2.18%。

2024年第一季度,公司毛利率为23.69%,同比上升4.41个百分点;净利率为9.80%,较上年同期上升2.33个百分点。

数据显示,2024年第一季度公司加权平均净资产收益率为2.18%,较上年同期增长0.15个百分点;公司2024年第一季度投入资本回报率为1.97%,较上年同期增长0.08个百分点。

2024年第一季度,公司经营活动现金流净额为-4595.35万元,同比减少1.25亿元;筹资活动现金流净额-6212.72万元,同比增加291.27万元;投资活动现金流净额-8882.18万元,上年同期为-3.24亿元。

2024年第一季度,公司营业收入现金比为68.32%,净现比为-53.59%。

资产重大变化方面,截至2024年一季度末,公司应收票据较上年末减少30.71%,占公司总资产比重下降2.87个百分点;交易性金融资产较上年末增加93.65%,占公司总资产比重上升1.18个百分点;货币资金较上年末减少10.52%,占公司总资产比重下降0.91个百分点;存货较上年末减少3.35%,占公司总资产比重上升0.86个百分点。

负债重大变化方面,截至2024年一季度末,公司应付票据较上年末减少39.77%,占公司总资产比重下降2.26个百分点;合同负债较上年末减少7.34%,占公司总资产比重下降0.23个百分点;其他流动负债较上年末减少24.87%,占公司总资产比重下降1.06个百分点;短期借款较上年末减少24.85%,占公司总资产比重下降0.61个百分点。

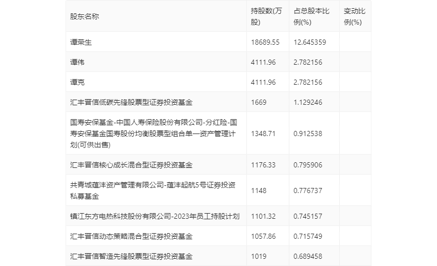
一季报显示,2024年一季度末公司十大流通股东中,持股最多的为谭荣生,占比12.65%。十大流通股东名单相比2023年年报维持不变。在具体持股比例上,谭荣生、谭伟、谭克、汇丰晋信低碳先锋股票型证券投资基金、国寿安保基金-中国人寿保险股份有限公司-分红险-国寿安保基金国寿股份均衡股票型组合单一资产管理计划(可供出售)、汇丰晋信核心成长混合型证券投资基金、共青城蕴沣资产管理有限公司-蕴沣起航5号证券投资私募基金、镇江东方电热科技股份有限公司-2023年员工持股计划、汇丰晋信智造先锋股票型证券投资基金持股有所上升,汇丰晋信动态策略混合型证券投资基金持股有所下降。

筹码集中度方面,截至2024年一季度末,公司股东总户数为4.8万户,较上年末增长了603户,增幅1.27%;户均持股市值由上年末的16.88万元下降至15.82万元,降幅为6.28%。
