安利股份:2024年第一季度盈利4127.16万元 同比扭亏

中证智能财讯 安利股份(300218)4月29日披露2024年一季报。2024年第一季度,公司实现营业总收入5.41亿元,同比增长24.61%;归母净利润4127.16万元,同比扭亏;扣非净利润3781.85万元,同比扭亏;经营活动产生的现金流量净额为-6008.68万元,上年同期为-5954.78万元;报告期内,安利股份基本每股收益为0.193元,加权平均净资产收益率为3.21%。


2024年第一季度,公司毛利率为27.61%,同比上升10.31个百分点;净利率为7.69%,较上年同期上升11.27个百分点。

数据显示,2024年第一季度公司加权平均净资产收益率为3.21%,较上年同期增长4.31个百分点;公司2024年第一季度投入资本回报率为2.91%,较上年同期增长3.22个百分点。

2024年第一季度,公司经营活动现金流净额为-6008.68万元,同比减少53.90万元;筹资活动现金流净额1353.29万元,同比减少925.10万元;投资活动现金流净额-1318.34万元,上年同期为-1163.64万元。

2024年第一季度,公司营业收入现金比为75.87%,净现比为-145.59%。

资产重大变化方面,截至2024年一季度末,公司应收账款较上年末增加16.55%,占公司总资产比重上升2.31个百分点;货币资金较上年末减少12.73%,占公司总资产比重下降2.28个百分点;应收款项融资较上年末减少38.76%,占公司总资产比重下降1.53个百分点;存货较上年末增加7.79%,占公司总资产比重上升1.44个百分点。

负债重大变化方面,截至2024年一季度末,公司应付账款较上年末减少10.27%,占公司总资产比重下降1.90个百分点;应付职工薪酬较上年末减少75.02%,占公司总资产比重下降1.46个百分点;短期借款较上年末增加13.13%,占公司总资产比重上升0.92个百分点;合同负债较上年末减少47.29%,占公司总资产比重下降0.32个百分点。

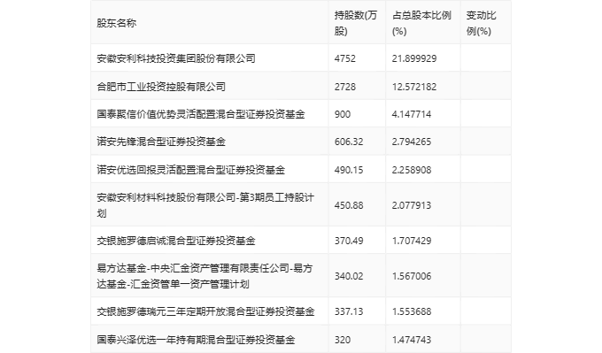
一季报显示,2024年一季度末公司十大流通股东中,新进股东为交银施罗德瑞元三年定期开放混合型证券投资基金、国泰兴泽优选一年持有期混合型证券投资基金,取代了上年末的沈向红、国泰金牛创新成长混合型证券投资基金。

筹码集中度方面,截至2024年一季度末,公司股东总户数为8480户,较上年末下降了1033户,降幅10.86%;户均持股市值由上年末的30.91万元上升至34.19万元,增幅为10.61%。
