安利股份:2024年上半年净利润9240.78万元 同比增长9821.08%

中证智能财讯 安利股份(300218)8月30日披露2024年半年报。2024年上半年,公司实现营业总收入11.26亿元,同比增长28.77%;归母净利润9240.78万元,同比增长9821.08%;扣非净利润8392.94万元,同比扭亏;经营活动产生的现金流量净额为4882.40万元,同比增长99.39%;报告期内,安利股份基本每股收益为0.4322元,加权平均净资产收益率为7.10%。
公告显示,归母净利润变化主要由于公司主营产品量价齐升,营业收入。

以8月29日收盘价计算,安利股份目前市盈率(TTM)约为19.39倍,市净率(LF)约为2.37倍,市销率(TTM)约为1.4倍。

公司近年市盈率(TTM)、市净率(LF)、市销率(TTM)历史分位图如下所示:



根据半年报,公司第二季度实现营业总收入5.85亿元,同比增长32.86%,环比增长8.24%;归母净利润5113.62万元,同比增长241.72%,环比增长23.90%;扣非净利润4611.09万元,同比增长414.74%,环比增长21.93%。

2024年上半年,公司毛利率为25.92%,同比上升7.40个百分点;净利率为8.26%,较上年同期上升8.40个百分点。从单季度指标来看,2024年第二季度公司毛利率为24.37%,同比上升4.64个百分点,环比下降3.24个百分点;净利率为8.79%,较上年同期上升5.55个百分点,较上一季度上升1.10个百分点。

数据显示,2024年上半年公司加权平均净资产收益率为7.10%,较上年同期增长7.03个百分点;公司2024年上半年投入资本回报率为6.32%,较上年同期增长6.65个百分点。

2024年上半年,公司经营活动现金流净额为4882.40万元,同比增长99.39%,主要系公司加强存货管理、应收管理,销售资金回笼加快,销售回款完成良好所致;筹资活动现金流净额-420.58万元,同比增加7247.13万元,主要系本期销售扩大,补充流动资金,增加银行借款,且本年度支付分红较上年度减少所致;投资活动现金流净额-3114.95万元,上年同期为-4559.23万元,主要系上期收到土地收储款1508.1万,且购买理财产品4000万元人民币,今年无相关项目收支,净流量增加所致。
进一步统计发现,2024年上半年公司自由现金流为2467.24万元,上年同期为-4542.77万元。

2024年上半年,公司营业收入现金比为77.87%,净现比为52.84%。

营运能力方面,2024年上半年,公司总资产周转率为0.51次,上年同期为0.40次(2023年上半年行业平均值为0.25次,公司位居同行业5/21);固定资产周转率为1.29次,上年同期为0.92次(2023年上半年行业平均值为1.23次,公司位居同行业12/21);公司应收账款周转率、存货周转率分别为3.57次、2.52次。

2024年上半年,公司期间费用为1.79亿元,较上年同期增加2726.41万元;但期间费用率为15.93%,较上年同期下降1.47个百分点。其中,销售费用同比增长32.97%,管理费用同比增长33.87%,研发费用同比增长17.69%,财务费用同比下降69.8%。

资产重大变化方面,截至2024年上半年末,公司应收账款较上年末增加33.07%,占公司总资产比重上升3.58个百分点;固定资产较上年末减少4.37%,占公司总资产比重下降3.01个百分点;应收款项融资较上年末减少32.92%,占公司总资产比重下降1.42个百分点;在建工程较上年末增加206.18%,占公司总资产比重上升0.60个百分点。

负债重大变化方面,截至2024年上半年末,公司短期借款较上年末减少14.04%,占公司总资产比重下降1.02个百分点;应付职工薪酬较上年末减少29.54%,占公司总资产比重下降0.62个百分点;应付账款较上年末减少1.44%,占公司总资产比重下降0.99个百分点;合同负债较上年末增加30.49%,占公司总资产比重上升0.19个百分点。

从存货变动来看,截至2024年上半年末,公司存货账面价值为3.38亿元,占净资产的25.47%,较上年末增加1232.57万元。其中,存货跌价准备为297.12万元,计提比例为0.87%。

在偿债能力方面,公司2024年上半年末资产负债率为35.35%,相比上年末下降0.52个百分点;有息资产负债率为7.27%,相比上年末上升1.19个百分点。

2024年上半年,公司流动比率为1.93,速动比率为1.43。

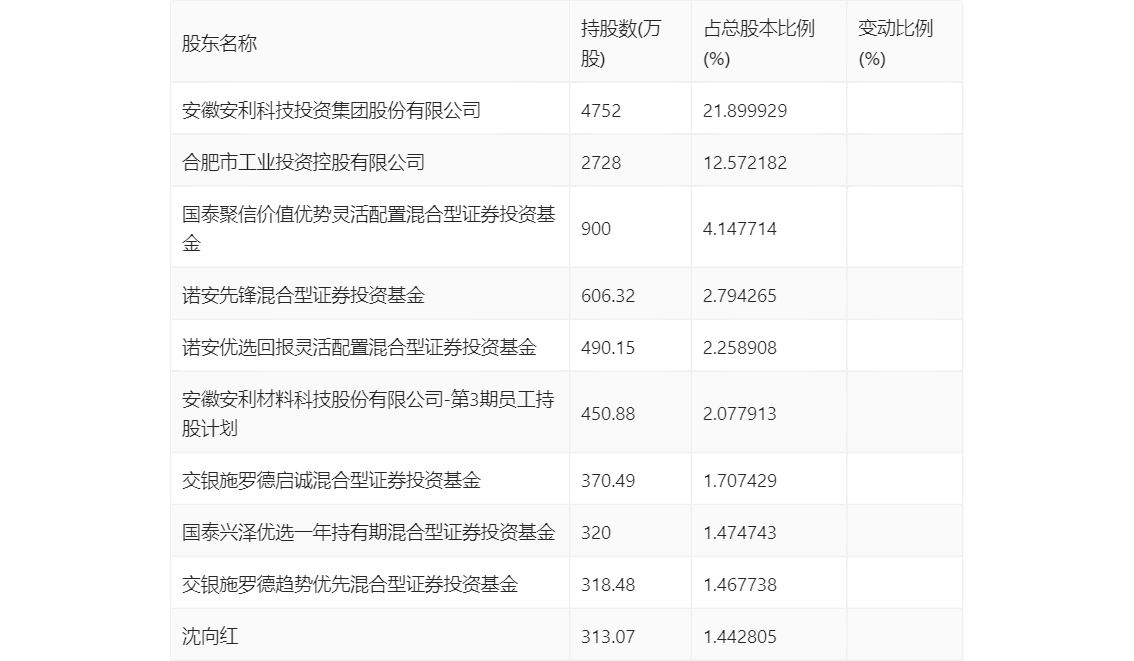
半年报显示,2024年上半年末公司十大流通股东中,新进股东为交银施罗德趋势优先混合型证券投资基金、沈向红,取代了一季度末的易方达基金-中央汇金资产管理有限责任公司-易方达基金-汇金资管单一资产管理计划、交银施罗德瑞元三年定期开放混合型证券投资基金。

筹码集中度方面,截至2024年上半年末,公司股东总户数为8556户,较一季度末增长了76户,增幅0.90%;户均持股市值由一季度末的34.19万元上升至38.24万元,增幅为11.85%。

指标注解:
市盈率
=总市值/净利润。当公司亏损时市盈率为负,此时用市盈率估值没有实际意义,往往用市净率或市销率做参考。
市净率
=总市值/净资产。市净率估值法多用于盈利波动较大而净资产相对稳定的公司。
市销率
=总市值/营业收入。市销率估值法通常用于亏损或微利的成长型公司。
文中市盈率和市销率采用TTM方式,即以截至最近一期财报(含预报)12个月的数据计算。市净率采用LF方式,即以最近一期财报数据计算。
市盈率为负时,不显示当期分位数,会导致折线图中断。