上海钢联:2024年上半年净利润8397.26万元 同比下降29.41%

中证智能财讯 上海钢联(300226)8月27日披露2024年半年度报告。2024年上半年,公司实现营业收入438.95亿元,同比增长12.43%;归母净利润8397.26万元,同比下降29.41%;扣非净利润7652.28万元,同比下降13.48%;经营活动产生的现金流量净额为6.26亿元,上年同期为-9038.35万元;报告期内,上海钢联基本每股收益为0.2609元,加权平均净资产收益率为4.14%。

以8月26日收盘价计算,上海钢联目前市盈率(TTM)约为24.73倍,市净率(LF)约为2.59倍,市销率(TTM)约为0.06倍。

公司近年市盈率(TTM)、市净率(LF)、市销率(TTM)历史分位图如下所示:



根据半年报,公司第二季度实现营业总收入263.53亿元,同比增长22.40%,环比增长50.23%;归母净利润3481.75万元,同比下降45.87%,环比下降29.17%;扣非净利润2962.66万元,同比下降42.32%,环比下降36.83%。

资料显示,公司是全球领先的大宗商品及相关产业数据服务商之一,并拥有国内千亿级B2B钢材交易智慧服务电商平台。公司主营业务分为产业数据服务和钢材交易服务,上海钢联管理团队致力于发展产业数据服务,子公司钢银电商具有独立的管理团队和治理结构,致力于发展钢材交易服务。
2024年上半年,公司毛利率为1.36%,同比下降0.20个百分点;净利率为0.33%,较上年同期下降0.21个百分点。从单季度指标来看,2024年第二季度公司毛利率为1.23%,同比下降0.36个百分点,环比下降0.32个百分点;净利率为0.22%,较上年同期下降0.28个百分点,较上一季度下降0.27个百分点。

数据显示,2024年上半年公司加权平均净资产收益率为4.14%,较上年同期下降2.36个百分点;公司2024年上半年投入资本回报率为1.82%,较上年同期下降1.21个百分点。

2024年上半年,公司经营活动现金流净额为6.26亿元,同比增加7.16亿元,主要系报告期内,加大应收账款的清欠力度,货款回笼增加所致;筹资活动现金流净额-5.44亿元,同比减少5.69亿元,主要系报告期内公司的全资子公司钢联科技收购隆众资讯少数股东股权以及借款金额减少所致;投资活动现金流净额-646.06万元,上年同期为-5770.53万元,主要系报告期内,公司收回参股公司投资款所致。
进一步统计发现,2024年上半年公司自由现金流为-3.94亿元,上年同期为-1.77亿元。

2024年上半年,公司营业收入现金比为298.95%,净现比为745.29%。

营运能力方面,2024年上半年,公司公司总资产周转率为2.16次,上年同期为2.62次(2023年上半年行业平均值为0.17次,公司位居同行业1/103);固定资产周转率为242.03次,上年同期为239.87次(2023年上半年行业平均值为5.13次,公司位居同行业1/103);公司应收账款周转率、存货周转率分别为28.58次、12.22次。

2024年上半年,公司期间费用为3.63亿元,较上年同期增加1888.49万元;但期间费用率为0.83%,较上年同期下降0.05个百分点。其中,销售费用同比增长0.57%,管理费用同比增长5.29%,研发费用同比下降6.76%,财务费用由去年同期的-270.80万元变为1547.71万元。
资料显示,财务费用的变动主要因为报告期内,公司票据贴息产生的贴息手续费增加。

资产重大变化方面,截至2024年上半年末,公司预付款项较上年末减少0.68%,占公司总资产比重下降9.48个百分点;存货较上年末增加127.58%,占公司总资产比重上升9.27个百分点;货币资金较上年末增加48.41%,占公司总资产比重上升4.61个百分点;应收账款较上年末减少23.04%,占公司总资产比重下降3.97个百分点。

负债重大变化方面,截至2024年上半年末,公司短期借款较上年末增加136.47%,占公司总资产比重上升11.32个百分点,主要系短期借款较本本期期初增加,报告期末,公司转移应收账款及应收票据未终止确认形成的负债增加;合同负债较上年末增加49.60%,占公司总资产比重上升3.98个百分点,主要系平台供应链业务规模的增长,报告期末预收客户合同款项增加;其他流动负债较上年末增加36.09%,占公司总资产比重上升0.39个百分点;应付票据较上年末减少11.23%,占公司总资产比重下降7.30个百分点。

从存货变动来看,截至2024年上半年末,公司存货账面价值为49.25亿元,占净资产的251.14%,较上年末增加27.61亿元。其中,存货跌价准备为131.38万元,计提比例为0.03%。

在偿债能力方面,公司2024年上半年末资产负债率为81.93%,相比上年末上升6.12个百分点;有息资产负债率为25.01%,相比上年末上升11.29个百分点。

2024年上半年,公司流动比率为1.19,速动比率为0.93。

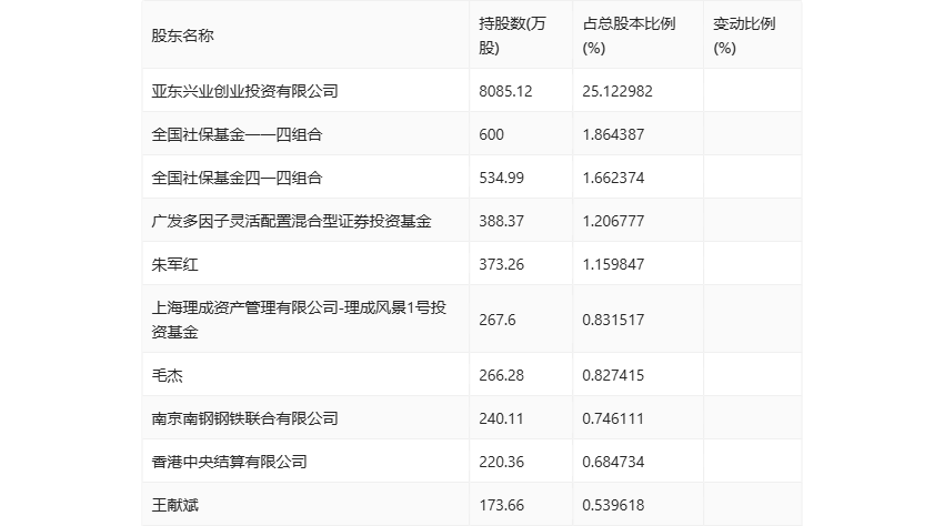
半年报显示,2024年上半年末公司十大流通股东中,新进股东为上海理成资产管理有限公司-理成风景1号投资基金、毛杰、南京南钢钢铁联合有限公司、王献斌,取代了一季度末的东方红睿玺三年定期开放灵活配置混合型证券投资基金、中欧电子信息产业沪港深股票型证券投资基金、中欧创新未来18个月封闭运作混合型证券投资基金、东方红产业升级灵活配置混合型证券投资基金。在具体持股比例上,全国社保基金四一四组合持股有所上升,香港中央结算有限公司持股有所下降。

值得注意的是,根据半年报数据,上海钢联25.12%股份处于质押状态。其中,第一大股东亚东兴业创业投资有限公司质押8085.12万股公司股份,占其全部持股的100.00%。
筹码集中度方面,截至2024年上半年末,公司股东总户数为3.26万户,较一季度末增长了447户,增幅1.39%;户均持股市值由一季度末的22.59万元下降至16.71万元,降幅为26.03%。

指标注解:
市盈率
=总市值/净利润。当公司亏损时市盈率为负,此时用市盈率估值没有实际意义,往往用市净率或市销率做参考。
市净率
=总市值/净资产。市净率估值法多用于盈利波动较大而净资产相对稳定的公司。
市销率
=总市值/营业收入。市销率估值法通常用于亏损或微利的成长型公司。
文中市盈率和市销率采用TTM方式,即以截至最近一期财报(含预报)12个月的数据计算。市净率采用LF方式,即以最近一期财报数据计算。
市盈率为负时,不显示当期分位数,会导致折线图中断。