龙虎榜 | 方直科技今日涨18.04%,机构合计净买入6012.05万元

http://ddx.gubit.cn  2023-05-08 20:49  方直科技(300235)公司分析

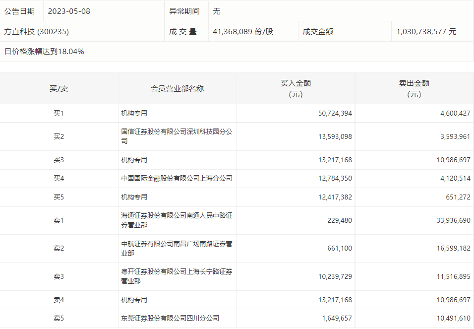
5月8日,方直科技今日涨18.04%,龙虎榜数据显示,上榜营业部席位全天成交2.12亿元,占当日总成交金额比例为20.57%。其中,买入金额为1.16亿元,卖出金额为9649.72万元,合计净买入1901.91万元。

具体来看,机构买入7635.89万元,卖出1623.84万元,合计净买入6012.05万元。此外,国信证券深圳科技园分公司、中国国际金融上海分公司分别买入1359.31万元、1278.44万元;海通证券南通人民中路证券营业部、中航证券有限公司南昌广场南路证券营业部分别卖出3393.67万元、1659.92万元。