迪安诊断:2023年净利润同比下降78.56% 拟10派0.6元

中证智能财讯 迪安诊断(300244)4月20日披露2023年年报。2023年,公司实现营业总收入134.08亿元,同比下降33.89%;归母净利润3.07亿元,同比下降78.56%;扣非净利润2.95亿元,同比下降81.90%;经营活动产生的现金流量净额为19.21亿元,同比增长17.20%;报告期内,迪安诊断基本每股收益为0.4918元,加权平均净资产收益率为4.10%。公司2023年年度利润分配预案为:拟向全体股东每10股派0.6元(含税)。

以4月19日收盘价计算,迪安诊断目前市盈率(TTM)约为29.28倍,市净率(LF)约为1.19倍,市销率(TTM)约为0.67倍。

公司近年市盈率(TTM)、市净率(LF)、市销率(TTM)历史分位图如下所示:



数据统计显示,迪安诊断近三年营业总收入复合增长率为7.98%,在医疗服务行业已披露2023年数据的17家公司中排名第13。近三年净利润复合年增长率为-27.38%,排名15/17。

资料显示,公司主要业务涉及医学诊断服务、诊断技术研发、诊断产品生产及销售、CRO、司法鉴定、健康管理等领域。
分产品来看,2023年公司主营业务中,渠道产品收入82.83亿元,同比增长5.32%,占营业收入的61.78%;诊断服务收入51.87亿元,同比下降59.08%,占营业收入的38.68%;自产产品收入4.03亿元,同比下降73.74%,占营业收入的3.00%。

截至2023年末,公司员工总数为10843人,人均创收123.66万元,人均创利2.84万元,人均薪酬24.33万元,较上年同期分别变化-19.96%、-74.04%、14.89%。

2023年,公司毛利率为31.29%,同比下降5.87个百分点;净利率为4.34%,较上年同期下降4.84个百分点。从单季度指标来看,2023年第四季度公司毛利率为26.24%,同比上升2.41个百分点,环比下降5.91个百分点;净利率为-6.73%,较上年同期上升14.88个百分点,较上一季度下降11.95个百分点。

分产品看,渠道产品、诊断服务2023年毛利率分别为23.28%、39.43%。

报告期内,公司前五大客户合计销售金额4.62亿元,占总销售金额比例为3.45%,公司前五名供应商合计采购金额49.95亿元,占年度采购总额比例为62.08%。


数据显示,2023年公司加权平均净资产收益率为4.10%,较上年同期下降17.63个百分点;公司2023年投入资本回报率为4.95%,较上年同期下降10.02个百分点。

2023年,公司经营活动现金流净额为19.21亿元,同比增长17.20%;筹资活动现金流净额-24.33亿元,同比减少38.61亿元;投资活动现金流净额-6.87亿元,上年同期为-10.72亿元。
进一步统计发现,2023年公司自由现金流为8.88亿元,上年同期为-3.88亿元。

2023年,公司营业收入现金比为129.97%,净现比为624.91%。

营运能力方面,2023年,公司公司总资产周转率为0.69次,上年同期为1.11次(2022年行业平均值为0.46次,公司位居同行业3/51);固定资产周转率为10.05次,上年同期为16.01次(2022年行业平均值为3.39次,公司位居同行业5/51);公司应收账款周转率、存货周转率分别为1.49次、6.26次。

2023年,公司期间费用为29.84亿元,较上年同期减少8.18亿元;但期间费用率为22.25%,较上年同期上升3.51个百分点。其中,销售费用同比下降13.37%,管理费用同比下降25.31%,研发费用同比下降32.24%,财务费用同比下降26.03%。

资产重大变化方面,截至2023年年末,公司货币资金较上年末减少29.21%,占公司总资产比重下降3.38个百分点;应收账款较上年末减少19.10%,占公司总资产比重下降2.38个百分点;固定资产较上年末增加15.58%,占公司总资产比重上升2.10个百分点;存货较上年末增加5.21%,占公司总资产比重上升1.60个百分点。

负债重大变化方面,截至2023年年末,公司应付账款较上年末减少35.84%,占公司总资产比重下降3.36个百分点,主要系报告期内购买商品减少;短期借款较上年末减少52.06%,占公司总资产比重下降4.03个百分点,主要系报告期内为提高资金使用效率而偿还短期借款;长期借款较上年末减少21.50%,占公司总资产比重下降1.11个百分点;应付职工薪酬较上年末减少37.22%,占公司总资产比重下降1.37个百分点。

从存货变动来看,截至2023年年末,公司存货账面价值为15.09亿元,占净资产的19.94%,较上年末增加7466.95万元。其中,存货跌价准备为2413.06万元,计提比例为1.57%。

2023年全年,公司研发投入金额为4.36亿元,同比下降32.04%;研发投入占营业收入比例为3.25%,相比上年同期上升0.09个百分点。此外,公司全年研发投入资本化率为0.67%。


资料显示,报告期,新增发明专利28项、实用新型专利117项、软件著作权72项,另有125项发明专利在申请。
在偿债能力方面,公司2023年年末资产负债率为44.79%,相比上年末下降10.08个百分点;有息资产负债率为21.75%,相比上年末下降5.33个百分点。

2023年,公司流动比率为2.82,速动比率为2.51。

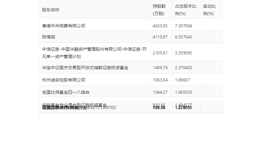
年报显示,2023年年末公司十大流通股东中,新进股东为中欧养老产业混合型证券投资基金、法国巴黎银行-自有资金,取代了三季度末的UBS AG、钟佳富。在具体持股比例上,香港中央结算有限公司持股有所上升,中信证券-中国华融资产管理股份有限公司-中信证券-开元单一资产管理计划、华宝中证医疗交易型开放式指数证券投资基金、CITIGROUP GLOBAL MARKETS LIMITED持股有所下降。

值得注意的是,根据年报数据,迪安诊断10.10%股份处于质押状态。其中,第一大股东陈海斌质押6330.00万股公司股份,占其全部持股的38.49%。
筹码集中度方面,截至2023年年末,公司股东总户数为2.83万户,较三季度末下降了1238户,降幅4.19%;户均持股市值由三季度末的49.86万元上升至52.73万元,增幅为5.76%。

指标注解:
市盈率
=总市值/净利润。当公司亏损时市盈率为负,此时用市盈率估值没有实际意义,往往用市净率或市销率做参考。
市净率
=总市值/净资产。市净率估值法多用于盈利波动较大而净资产相对稳定的公司。
市销率
=总市值/营业收入。市销率估值法通常用于亏损或微利的成长型公司。
文中市盈率和市销率采用TTM方式,即以截至最近一期财报(含预报)12个月的数据计算。市净率采用LF方式,即以最近一期财报数据计算。
市盈率为负时,不显示当期分位数,会导致折线图中断。