光线传媒:2023年盈利4.18亿元 拟10派0.7元

中证智能财讯 光线传媒(300251)4月20日披露2023年年报。2023年,公司实现营业总收入15.46亿元,同比增长104.74%;归母净利润4.18亿元,同比扭亏;扣非净利润3.88亿元,同比扭亏;经营活动产生的现金流量净额为6.42亿元,上年同期为-745.65万元;报告期内,光线传媒基本每股收益为0.14元,加权平均净资产收益率为4.98%。拟向全体股东每 10 股派发现金红利 0.70 元(含税)。

以4月19日收盘价计算,光线传媒目前市盈率(TTM)约为69.51倍,市净率(LF)约为3.35倍,市销率(TTM)约为18.79倍。

公司近年市盈率(TTM)、市净率(LF)、市销率(TTM)历史分位图如下所示:



数据统计显示,光线传媒近三年营业总收入复合增长率为10.07%,在影视动漫制作行业已披露2023年数据的6家公司中排名第4。近三年净利润复合年增长率为12.81%,排名6/6。

年报显示,公司业务以影视项目的投资、制作、发行为主。目前,公司主要立足于产业链中的内容生产环节;盈利主要涵盖影视项目的投资、制作、发行收益,及相关衍生或关联领域产生的收益,同时以股权投资收益等作为重要补充。
分产品来看,2023年公司主营业务中,电影及相关衍生业务收入12.86亿元,同比增长116.81%,占营业收入的83.20%。

截至2023年末,公司员工总数为563人,人均创收274.53万元,人均创利74.21万元,人均薪酬23.88万元,较上年同期分别增长110.20%、160.19%、3.87%。
2023年,公司毛利率为39.89%,同比上升20.79个百分点;净利率为27.13%,较上年同期上升122.98个百分点。从单季度指标来看,2023年第四季度公司毛利率为46.02%,同比上升18.85个百分点,环比上升8.69个百分点;净利率为8.55%,较上年同期上升1194.51个百分点,较上一季度下降40.81个百分点。

报告期内,公司前五大客户合计销售金额11.19亿元,占总销售金额比例为72.42%,公司前五名供应商合计采购金额2.72亿元,占年度采购总额比例为29.27%。


数据显示,2023年公司加权平均净资产收益率为4.98%,较上年同期增长13.07个百分点;公司2023年投入资本回报率为4.48%,较上年同期增长12.81个百分点。

2023年,公司经营活动现金流净额为6.42亿元,同比增加6.50亿元;筹资活动现金流净额-1.82亿元,同比增加5.38亿元;投资活动现金流净额7385.26万元,上年同期为15.62亿元。
进一步统计发现,2023年公司自由现金流为5.12亿元,相比上年同期下降47.94%。

2023年,公司营业收入现金比为115.23%,净现比为153.68%。

营运能力方面,2023年,公司公司总资产周转率为0.16次,上年同期为0.08次(2022年行业平均值为0.22次,公司位居同行业14/16);固定资产周转率为71.44次,上年同期为31.82次(2022年行业平均值为22.64次,公司位居同行业6/16);公司应收账款周转率、存货周转率分别为5.64次、0.76次。

2023年,公司期间费用为1.02亿元,同比增长973.81万元;但期间费用率为6.59%,同比下降5.61个百分点。其中,销售费用同比下降16.77%,管理费用同比增长15.49%,研发费用同比增长70.3%,财务费用-4204.06万元,去年同期-2527.11万元。

资产重大变化方面,截至2023年年末,公司长期股权投资较上年末减少2.94%,占公司总资产比重下降4.77个百分点;货币资金较上年末增加27.38%,占公司总资产比重上升3.52个百分点;应收账款较上年末增加75.55%,占公司总资产比重上升1.32个百分点;交易性金融资产较上年末增加96.20%,占公司总资产比重上升0.90个百分点。

负债重大变化方面,截至2023年年末,公司应付账款较上年末增加294.40%,占公司总资产比重上升4.36个百分点,主要系本报告期应支付合作方结算款增加;合同负债较上年末减少25.88%,占公司总资产比重下降1.34个百分点;应交税费较上年末增加118.27%,占公司总资产比重上升0.56个百分点;应付职工薪酬较上年末增加250.51%,占公司总资产比重上升0.29个百分点。

从存货变动来看,截至2023年年末,公司存货账面价值为12.55亿元,占净资产的14.46%,较上年末增加6250.41万元。其中,存货跌价准备为1.37亿元,计提比例为9.83%。

2023年全年,公司研发投入金额为3182.72万元,同比增长70.30%;研发投入占营业收入比例为2.06%,相比上年同期下降0.42个百分点。此外,公司全年研发投入资本化率为0。
资料显示,公司高度重视知识产权的工作,报告期内,公司及子公司新取得的实用新型专利14件,主要为影视项目摄制相关的实用新型专利,与公司主营业务相关;新取得的发明专利1件,为影视项目摄制相关的发明专利。
在偿债能力方面,公司2023年年末资产负债率为12.54%,相比上年末上升3.58个百分点;有息资产负债率为0.21%,相比上年末下降0.26个百分点。

2023年,公司流动比率为4.22,速动比率为3.05。

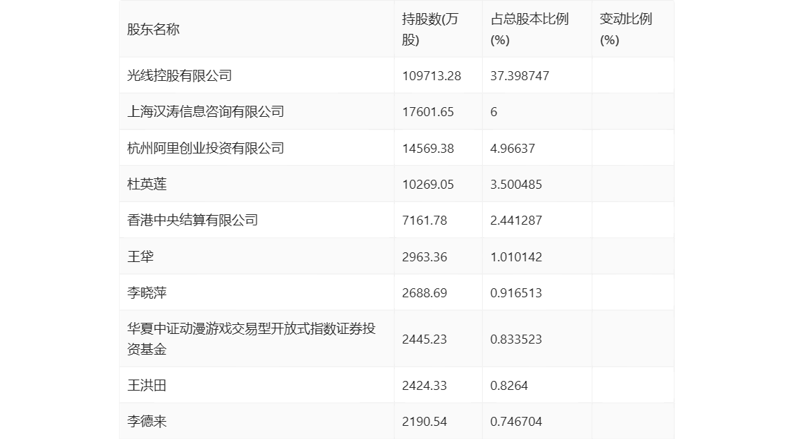
年报显示,2023年年末公司十大流通股东中,持股最多的为光线控股有限公司,占比37.40%。十大流通股东名单相比2023年三季报维持不变。在具体持股比例上,光线控股有限公司、杭州阿里创业投资有限公司、香港中央结算有限公司、华夏中证动漫游戏交易型开放式指数证券投资基金持股有所上升。

筹码集中度方面,截至2023年年末,公司股东总户数为5.22万户,较三季度末增长了765户,增幅1.49%;户均持股市值由三季度末的49.07万元下降至45.82万元,降幅为6.62%。

指标注解:
市盈率
=总市值/净利润。当公司亏损时市盈率为负,此时用市盈率估值没有实际意义,往往用市净率或市销率做参考。
市净率
=总市值/净资产。市净率估值法多用于盈利波动较大而净资产相对稳定的公司。
市销率
=总市值/营业收入。市销率估值法通常用于亏损或微利的成长型公司。
文中市盈率和市销率采用TTM方式,即以截至最近一期财报(含预报)12个月的数据计算。市净率采用LF方式,即以最近一期财报数据计算。
市盈率为负时,不显示当期分位数,会导致折线图中断。