华宇软件:2024年第一季度亏损8697.53万元

中证智能财讯 华宇软件(300271)4月26日披露2024年一季报。2024年第一季度,公司实现营业总收入2.43亿元,同比增长18.95%;归母净利润亏损8697.53万元,上年同期亏损8006.61万元;扣非净利润亏损8213.58万元,上年同期亏损8097.30万元;经营活动产生的现金流量净额为-2.65亿元,上年同期为-2.10亿元;报告期内,华宇软件基本每股收益为-0.11元,加权平均净资产收益率为-2.04%。

2024年第一季度,公司毛利率为32.65%,同比下降4.04个百分点;净利率为-38.29%,较上年同期上升5.43个百分点。

2024年第一季度,公司经营活动现金流净额为-2.65亿元,同比减少5472.11万元;筹资活动现金流净额-1708.80万元,同比增加262.29万元;投资活动现金流净额-3579.63万元,上年同期为-4114.54万元。

2024年第一季度,公司营业收入现金比为114.12%。

资产重大变化方面,截至2024年一季度末,公司货币资金较上年末减少14.49%,占公司总资产比重下降3.97个百分点;存货较上年末增加8.03%,占公司总资产比重上升1.50个百分点;无形资产较上年末增加4.54%,占公司总资产比重上升0.83个百分点;应收账款较上年末减少1.85%,占公司总资产比重上升0.55个百分点。

负债重大变化方面,截至2024年一季度末,公司应付账款较上年末减少20.58%,占公司总资产比重下降1.31个百分点;合同负债较上年末减少7.75%,占公司总资产比重下降0.25个百分点;应交税费较上年末减少72.20%,占公司总资产比重下降0.32个百分点;应付职工薪酬较上年末减少43.27%,占公司总资产比重下降0.25个百分点。

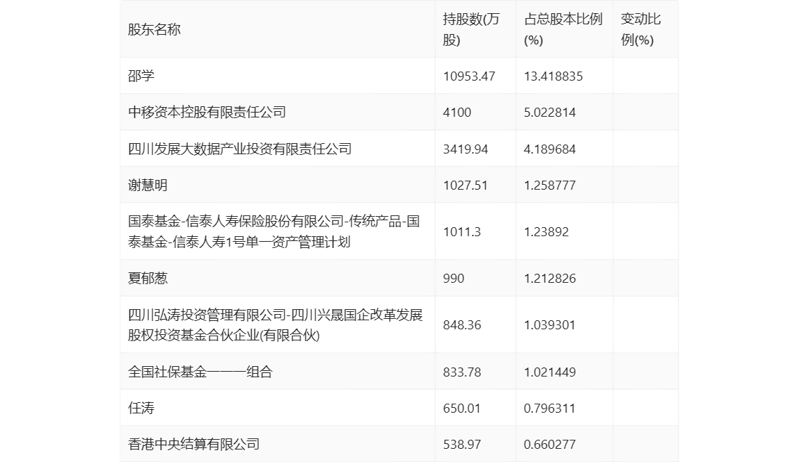
一季报显示,2024年一季度末公司十大流通股东中,新进股东为香港中央结算有限公司,取代了上年末的刘世强。在具体持股比例上,邵学、中移资本控股有限责任公司、四川发展大数据产业投资有限责任公司、谢慧明、国泰基金-信泰人寿保险股份有限公司-传统产品-国泰基金-信泰人寿1号单一资产管理计划、夏郁葱、四川弘涛投资管理有限公司-四川兴晟国企改革发展股权投资基金合伙企业(有限合伙)、任涛持股有所上升,全国社保基金一一一组合持股有所下降。

筹码集中度方面,截至2024年一季度末,公司股东总户数为4.33万户,较上年末增长了4787户,增幅12.44%;户均持股市值由上年末的17.45万元下降至13.04万元,降幅为25.27%。
