开能健康:2024年第一季度净利润2229.14万元 同比增长34.24%

中证智能财讯 开能健康(300272)4月23日披露2024年一季报。2024年第一季度,公司实现营业总收入3.81亿元,同比增长2.51%;归母净利润2229.14万元,同比增长34.24%;扣非净利润2050.19万元,同比增长27.63%;经营活动产生的现金流量净额为5509.85万元,同比增长3.89%;报告期内,开能健康基本每股收益为0.0391元,加权平均净资产收益率为1.74%。


2024年第一季度,公司毛利率为40.03%,同比上升2.57个百分点;净利率为7.70%,较上年同期上升2.99个百分点。

数据显示,2024年第一季度公司加权平均净资产收益率为1.74%,较上年同期增长0.23个百分点;公司2024年第一季度投入资本回报率为1.40%,较上年同期增长0.20个百分点。

2024年第一季度,公司经营活动现金流净额为5509.85万元,同比增长3.89%;筹资活动现金流净额-3686.16万元,同比减少1.16亿元;投资活动现金流净额-1646.95万元,上年同期为-1824.6万元。

2024年第一季度,公司营业收入现金比为106.86%,净现比为247.17%。

资产重大变化方面,截至2024年一季度末,公司在建工程较上年末增加17.32%,占公司总资产比重上升0.48个百分点;应收账款较上年末减少4.84%,占公司总资产比重下降0.35个百分点;固定资产较上年末减少2.94%,占公司总资产比重下降0.22个百分点;使用权资产较上年末减少10.39%,占公司总资产比重下降0.21个百分点。

负债重大变化方面,截至2024年一季度末,公司短期借款较上年末增加4.46%,占公司总资产比重上升1.05个百分点;应付账款较上年末增加13.47%,占公司总资产比重上升0.84个百分点;应付职工薪酬较上年末减少29.71%,占公司总资产比重下降0.58个百分点;其他应付款(含利息和股利)较上年末增加16.02%,占公司总资产比重上升0.37个百分点。

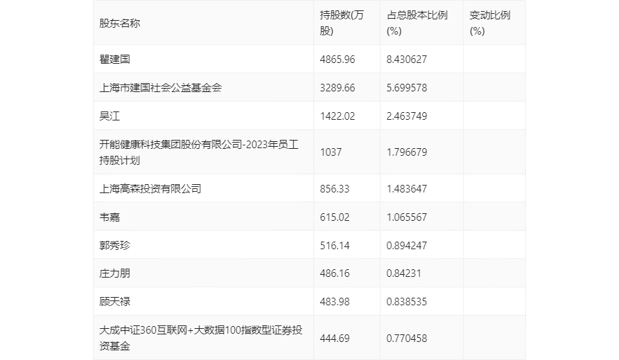
一季报显示,2024年一季度末公司十大流通股东中,持股最多的为瞿建国,占比8.43%。在具体持股比例上,上海高森投资有限公司、郭秀珍、庄力朋、顾天禄持股有所上升,瞿建国、上海市建国社会公益基金会、吴江、开能健康科技集团股份有限公司-2023年员工持股计划、韦嘉、大成中证360互联网+大数据100指数型证券投资基金持股有所下降。

筹码集中度方面,截至2024年一季度末,公司股东总户数为2.29万户,较上年末增长了1116户,增幅5.12%;户均持股市值由上年末的16.40万元下降至12.91万元,降幅为21.28%。
