紫天科技:2024年上半年净利润1193.82万元 同比下降89.68%

中证智能财讯 紫天科技(300280)8月30日披露2024年半年报。2024年上半年,公司实现营业总收入9.35亿元,同比下降34.46%;归母净利润1193.82万元,同比下降89.68%;扣非净利润1243.04万元,同比下降90.09%;经营活动产生的现金流量净额为34.29万元,同比下降99.85%;报告期内,紫天科技基本每股收益为0.073元,加权平均净资产收益率为0.96%。

以8月29日收盘价计算,紫天科技目前市盈率(TTM)约为-1.73倍,市净率(LF)约为1.84倍,市销率(TTM)约为1.34倍。

公司近年市盈率(TTM)、市净率(LF)、市销率(TTM)历史分位图如下所示:



根据半年报,公司第二季度实现营业总收入4.05亿元,同比下降44.83%,环比下降23.46%;归母净利润-3007.63万元,同比下降157.45%,环比下降171.59%;扣非净利润-3004.14万元,同比下降149.23%,环比下降170.73%。

资料显示,公司一直致力于成为全产业链、全媒体、一站式广告服务优秀品牌,广告营业收入逐年上升且具备一定的行业规模,现阶段主要聚焦为互联网营销和数据服务相关业务。
分产品来看,2024年上半年公司主营业务中,互联网广告业务收入6.34亿元,占营业收入的67.85%;电商贸易业务收入2.62亿元,占营业收入的27.99%;云服务业务收入0.39亿元,同比下降82.35%,占营业收入的4.16%。

2024年上半年,公司毛利率为4.83%,同比下降12.28个百分点;净利率为1.30%,较上年同期下降6.73个百分点。从单季度指标来看,2024年第二季度公司毛利率为-7.69%,同比下降27.49个百分点,环比下降22.10个百分点;净利率为-7.34%,较上年同期下降14.35个百分点,较上一季度下降15.25个百分点。

分产品看,互联网广告业务、电商贸易业务、云服务业务2024年上半年毛利率分别为0.97%、0.16%、99.21%。
数据显示,2024年上半年公司加权平均净资产收益率为0.96%,较上年同期下降3.72个百分点;公司2024年上半年投入资本回报率为1.04%,较上年同期下降3.21个百分点。

进一步统计发现,2024年上半年公司自由现金流为7219.09万元,相比上年同期下降77.67%。

2024年上半年,公司营业收入现金比为112.24%,净现比为2.87%。

2024年上半年,公司期间费用为2831.67万元,较上年同期减少4701.87万元;期间费用率为3.03%,较上年同期下降2.25个百分点。其中,销售费用同比下降61.77%,管理费用同比下降74.07%,研发费用同比下降95.51%,财务费用同比增长89.46%。

资产重大变化方面,截至2024年上半年末,公司预付款项较上年末增加90.10%,占公司总资产比重上升2.47个百分点;货币资金较上年末减少30.19%,占公司总资产比重下降2.23个百分点;应收账款较上年末增加7.34%,占公司总资产比重上升1.62个百分点;存货较上年末减少0.94%,占公司总资产比重下降0.83个百分点。

负债重大变化方面,截至2024年上半年末,公司短期借款较上年末减少39.62%,占公司总资产比重下降4.09个百分点;应付票据较上年末增加196.55%,占公司总资产比重上升3.24个百分点;合同负债较上年末增加108.97%,占公司总资产比重上升3.20个百分点;应付账款较上年末减少6.22%,占公司总资产比重下降3.22个百分点。

从存货变动来看,截至2024年上半年末,公司存货账面价值为9.3亿元,占净资产的75.64%。根据财报,公司本期没有计提存货跌价准备。

在偿债能力方面,公司2024年上半年末资产负债率为64.67%,相比上年末上升0.40个百分点;有息资产负债率为5.91%,相比上年末下降4.11个百分点。

2024年上半年,公司流动比率为1.20,速动比率为0.78。

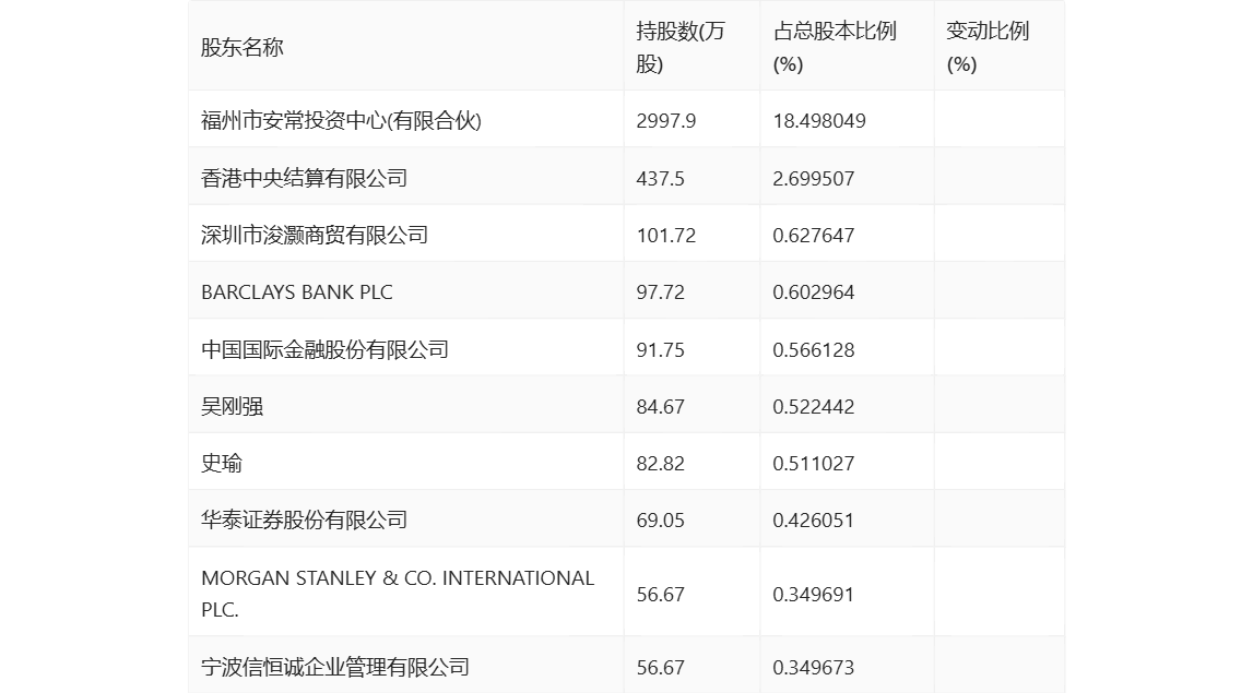
半年报显示,2024年上半年末公司十大流通股东中,新进股东为香港中央结算有限公司、BARCLAYS BANK PLC、中国国际金融股份有限公司、吴刚强、史瑜、华泰证券股份有限公司、MORGAN STANLEY & CO. INTERNATIONAL PLC.、宁波信恒诚企业管理有限公司,取代了一季度末的方金洋、吴伟彬、裕霖1号私募证券投资基金、鑫沣1号私募证券投资基金、华泰金融控股(香港)有限公司-稳健中国2号、吴志新、中信信托有限责任公司-中信信托鑫涌成泉金融投资集合资金信托计划、程殿国。

筹码集中度方面,截至2024年上半年末,公司股东总户数为3.76万户,较一季度末增长了1.31万户,增幅53.69%;户均持股市值由一季度末的27.61万元下降至6.57万元,降幅为76.20%。

指标注解:
市盈率
=总市值/净利润。当公司亏损时市盈率为负,此时用市盈率估值没有实际意义,往往用市净率或市销率做参考。
市净率
=总市值/净资产。市净率估值法多用于盈利波动较大而净资产相对稳定的公司。
市销率
=总市值/营业收入。市销率估值法通常用于亏损或微利的成长型公司。
文中市盈率和市销率采用TTM方式,即以截至最近一期财报(含预报)12个月的数据计算。市净率采用LF方式,即以最近一期财报数据计算。
市盈率为负时,不显示当期分位数,会导致折线图中断。