龙虎榜 | 同有科技今日涨停,机构合计净卖出1354.83万元

http://ddx.gubit.cn  2023-03-30 16:36  同有科技(300302)公司分析

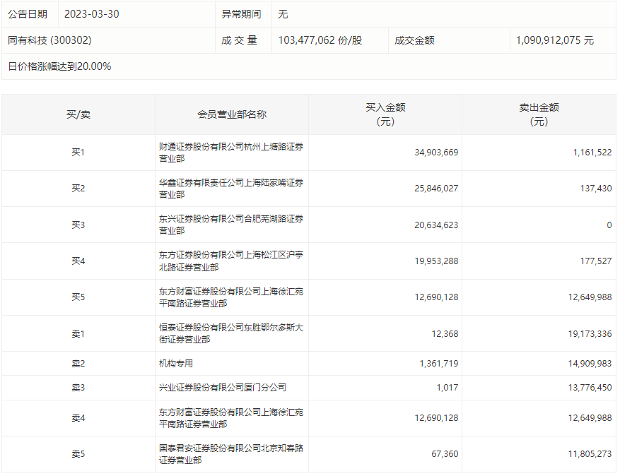
同有科技今日涨停,龙虎榜数据显示,上榜营业部席位全天成交1.89亿元,占当日总成交金额比例为17.35%。其中,买入金额为1.15亿元,卖出金额为7379.15万元,合计净买入4167.87万元。

具体来看,机构买入136.17万元,卖出1491.0万元,合计净卖出1354.83万元。此外,财通证券杭州上塘路证券营业部、华鑫证券上海陆家嘴证券营业部分别买入3490.37万元、2584.60万元;恒泰证券东胜鄂尔多斯大街证券营业部、兴业证券厦门分公司分别卖出1917.33万元、1377.65万元。