龙虎榜丨兆日科技今日涨停,知名游资炒股养家净买入590.37万元

查股网  2024-07-02 20:51  兆日科技(300333)个股分析

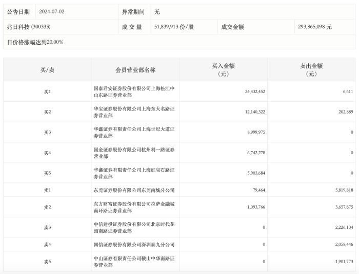
7月2日,兆日科技今日涨停,龙虎榜数据显示,上榜营业部席位全天成交7526.55万元,占当日总成交金额比例为25.61%。其中,买入金额为5939.19万元,卖出金额为1587.35万元,合计净买入4351.84万元。

具体来看,知名游资现身龙虎榜,炒股养家(华鑫证券有限责任公司上海红宝石路证券营业部)净买入590.37万元。此外,国泰君安证券上海松江中山东路证券营业部、华宝证券上海东大名路证券营业部分别买入2443.25万元、1214.03万元;东莞证券东莞南城分公司、东方财富证券拉萨金融城南环路证券营业部分别卖出581.98万元、365.79万元。