*ST开元:2024年上半年亏损1801.7万元

中证智能财讯 *ST开元(300338)8月29日披露2024年半年度报告。2024年上半年,公司实现营业收入9772.96万元,同比下降54.48%;归母净利润亏损1801.7万元,上年同期亏损472.58万元;扣非净利润亏损1547.3万元,上年同期亏损269.95万元;经营活动产生的现金流量净额为-1055.97万元,上年同期为-8383.33万元;报告期内,*ST开元基本每股收益为-0.0447元。

以8月28日收盘价计算,*ST开元目前市盈率(TTM)约为-2.47倍,市净率(LF)约为-5.56倍,市销率(TTM)约为3.18倍。

公司近年市盈率(TTM)、市净率(LF)、市销率(TTM)历史分位图如下所示:



根据半年报,公司第二季度实现营业总收入5979.73万元,同比下降44.32%,环比增长57.64%;归母净利润-1112.22万元,同比下降23.01%,环比下降61.32%;扣非净利润-936.61万元,同比下降26.53%,环比下降53.37%。

资料显示,公司从事的主要业务是职业教育与新能源业务。
2024年上半年,公司毛利率为60.11%,同比下降6.12个百分点;净利率为-19.14%,较上年同期下降16.00个百分点。从单季度指标来看,2024年第二季度公司毛利率为65.34%,同比下降3.44个百分点,环比上升13.48个百分点;净利率为-19.16%,较上年同期下降9.07个百分点,较上一季度下降0.06个百分点。

2024年上半年,公司经营活动现金流净额为-1055.97万元,同比增加7327.36万元,主要系上期收回投资所致;筹资活动现金流净额617.02万元,同比减少3996.76万元;投资活动现金流净额309.25万元,上年同期为3796.5万元。
进一步统计发现,2024年上半年公司自由现金流为-3272.84万元,上年同期为-12977.40万元。

2024年上半年,公司营业收入现金比为224.51%。

营运能力方面,2024年上半年,公司总资产周转率为0.20次,上年同期为0.26次(2023年上半年行业平均值为0.21次,公司位居同行业5/12);固定资产周转率为2.06次,上年同期为3.98次(2023年上半年行业平均值为6.12次,公司位居同行业7/12);公司应收账款周转率、存货周转率分别为2.00次、8.90次。

2024年上半年,公司期间费用为9513.73万元,较上年同期减少3614.08万元;但期间费用率为97.35%,较上年同期上升36.20个百分点。其中,销售费用同比增长23.94%,管理费用同比下降49.18%,研发费用同比下降37.31%,财务费用同比增长364.29%。
资料显示,管理费用的变动主要因为报告期内计入管理费用的股份支付;财务费用的变动主要因为报告期借款利息增加。

资产重大变化方面,截至2024年上半年末,公司其他应收款(含利息和股利)较上年末增加117.13%,占公司总资产比重上升17.90个百分点;长期应收款较上年末减少93.15%,占公司总资产比重下降4.84个百分点;商誉较上年末减少29.17%,占公司总资产比重下降4.09个百分点;应收账款较上年末减少35.44%,占公司总资产比重下降3.19个百分点。

负债重大变化方面,截至2024年上半年末,公司其他应付款(含利息和股利)较上年末增加21.19%,占公司总资产比重上升17.59个百分点;短期借款较上年末减少100.00%,占公司总资产比重下降5.74个百分点;合同负债较上年末减少17.82%,占公司总资产比重下降2.14个百分点;应付账款较上年末减少21.40%,占公司总资产比重下降2.41个百分点。

从存货变动来看,截至2024年上半年末,公司存货账面价值为362.89万元,占净资产的-2.83%,较上年末减少150.25万元。根据财报,公司本期没有计提存货跌价准备。

在偿债能力方面,公司2024年上半年末资产负债率为127.06%,相比上年末上升5.35个百分点;有息资产负债率为7.65%,相比上年末下降6.12个百分点。

2024年上半年,公司流动比率为0.47,速动比率为0.47。

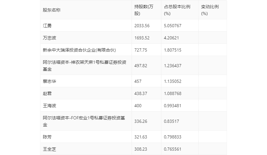
半年报显示,2024年上半年末的公司十大流通股东中,新进股东为江勇、广州阿尔法喵私募基金管理中心(有限合伙)-阿尔法喵资本-神农架天麻1号私募证券投资基金、王海波、广州阿尔法喵私募基金管理中心(有限合伙)-阿尔法喵资本-FOF宏业1号私募证券投资基金、王全芝,取代了一季度末的赵志尚、侯霞、盛健、BARCLAYS BANK PLC、李柏超。在具体持股比例上,万忠波、新余中大瑞泽投资合伙企业(有限合伙)、蔡志华、赵君、陈芳持股有所上升。

筹码集中度方面,截至2024年上半年末,公司股东总户数为1.31万户,较一季度末下降了5321户,降幅28.93%;户均持股市值由一季度末的7.20万元下降至3.70万元,降幅为48.61%。

指标注解:
市盈率
=总市值/净利润。当公司亏损时市盈率为负,此时用市盈率估值没有实际意义,往往用市净率或市销率做参考。
市净率
=总市值/净资产。市净率估值法多用于盈利波动较大而净资产相对稳定的公司。
市销率
=总市值/营业收入。市销率估值法通常用于亏损或微利的成长型公司。
文中市盈率和市销率采用TTM方式,即以截至最近一期财报(含预报)12个月的数据计算。市净率采用LF方式,即以最近一期财报数据计算。
市盈率为负时,不显示当期分位数,会导致折线图中断。