龙虎榜 | 立方数科今日涨停,机构合计净买入189.25万元

http://ddx.gubit.cn  2023-05-30 16:41  立方数科(300344)公司分析

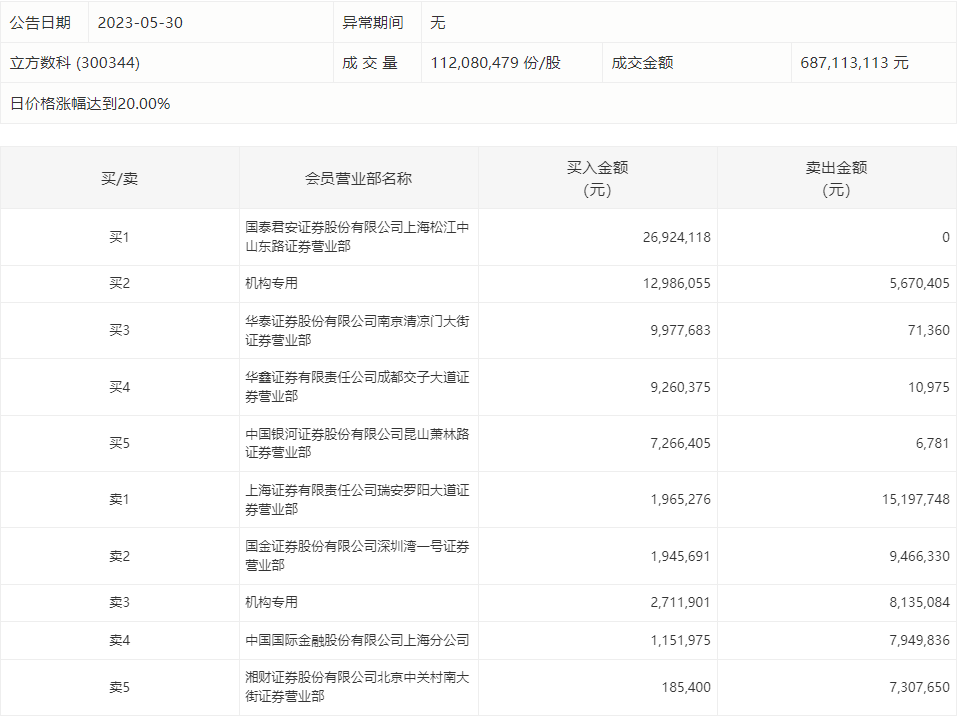
5月30日,立方数科今日涨停,龙虎榜数据显示,上榜营业部席位全天成交1.28亿元,占当日总成交金额比例为18.66%。其中,买入金额为7437.49万元,卖出金额为5381.62万元,合计净买入2055.87万元。

具体来看,机构买入1569.8万元,卖出1380.55万元,合计净买入189.25万元。此外,国泰君安证券上海松江中山东路证券营业部、华泰证券南京清凉门大街证券营业部分别买入2692.41万元、997.77万元;上海证券瑞安罗阳大道证券营业部、国金证券深圳湾一号证券营业部分别卖出1519.77万元、946.63万元。