龙虎榜 | 长亮科技今日涨停,知名游资孙哥买入1.23亿元

查股网  2024-10-16 21:26  长亮科技(300348)个股分析

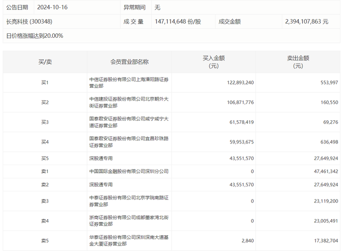
长亮科技今日涨停,龙虎榜数据显示,上榜营业部席位全天成交5.35亿元,占当日总成交金额比例为22.34%。其中,买入金额为3.95亿元,卖出金额为1.4亿元,合计净买入2.55亿元。

具体来看,知名游资现身龙虎榜,孙哥(中信证券上海溧阳路证券营业部)、中信建投证券北京朝外大街证券营业部分别买入1.23亿元、1.07亿元;中国国际金融深圳分公司、深股通专用分别卖出4746.13万元、2764.99万元。