安控科技:2024年第一季度亏损1788.16万元

中证智能财讯 安控科技(300370)4月19日披露2024年一季报。2024年第一季度,公司实现营业总收入4251.74万元,同比下降21.36%;归母净利润亏损1788.16万元,上年同期亏损6717.40万元;扣非净利润亏损1819.85万元,上年同期亏损3273.42万元;经营活动产生的现金流量净额为-1510.18万元,上年同期为-2528.60万元;报告期内,安控科技基本每股收益为-0.0114元,加权平均净资产收益率为-2.95%。


2024年第一季度,公司毛利率为28.27%,同比上升6.67个百分点;净利率为-45.21%,较上年同期上升86.20个百分点。

数据显示,2024年第一季度公司加权平均净资产收益率为-2.95%,较上年同期增长5.68个百分点;公司2024年第一季度投入资本回报率为-1.04%,较上年同期增长4.58个百分点。
2024年第一季度,公司经营活动现金流净额为-1510.18万元,同比增加1018.41万元,主要系本期合并范围较上年40.28%同期减少,使得经营活动现金净额有所改善。oo所致;筹资活动现金流净额3196.01万元,同比增加7394.45万元,主要系本期较上期收到金融机构借款增加,以及偿还的借款减少所致;投资活动现金流净额-716.42万元,上年同期为588.45万元,主要系上年同期收到资产包处置款项,本期不涉及此类事项投资性流入所致。

2024年第一季度,公司营业收入现金比为288.81%。

资产重大变化方面,截至2024年一季度末,公司应收账款较上年末减少30.08%,占公司总资产比重下降4.55个百分点;存货较上年末增加12.05%,占公司总资产比重上升1.06个百分点;货币资金较上年末增加20.46%,占公司总资产比重上升0.84个百分点;其他应收款(含利息和股利)较上年末减少44.10%,占公司总资产比重下降0.63个百分点。

负债重大变化方面,截至2024年一季度末,公司应付账款较上年末减少39.22%,占公司总资产比重下降5.06个百分点;短期借款较上年末增加96.28%,占公司总资产比重上升2.81个百分点;其他应付款(含利息和股利)较上年末减少5.10%,占公司总资产比重下降0.01个百分点;应交税费较上年末减少56.07%,占公司总资产比重下降0.25个百分点。

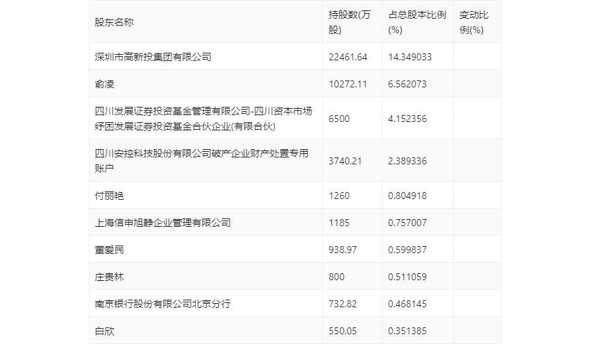
一季报显示,2024年一季度末公司十大流通股东中,新进股东为白欣,取代了上年末的孙沈侠。在具体持股比例上,董爱民持股有所下降。

筹码集中度方面,截至2024年一季度末,公司股东总户数为3.26万户,较上年末下降了965户,降幅2.87%;户均持股市值由上年末的11.61万元下降至10.51万元,降幅为9.47%。
