安控科技:2024年上半年亏损3376.05万元

中证智能财讯 安控科技(300370)8月27日披露2024年半年度报告。2024年上半年,公司实现营业收入1.22亿元,同比下降7.43%;归母净利润亏损3376.05万元,上年同期亏损8731.74万元;扣非净利润亏损3424.31万元,上年同期亏损4306.25万元;经营活动产生的现金流量净额为-2286.55万元,上年同期为-7533.93万元;报告期内,安控科技基本每股收益为-0.0216元,加权平均净资产收益率为-5.65%。

以8月26日收盘价计算,安控科技目前市盈率(TTM)约为-18.63倍,市净率(LF)约为4.64倍,市销率(TTM)约为5.89倍。

公司近年市盈率(TTM)、市净率(LF)、市销率(TTM)历史分位图如下所示:



根据半年报,公司第二季度实现营业总收入7936.35万元,同比增长2.28%,环比增长86.66%;归母净利润-1587.89万元,同比增长21.17%,环比增长11.20%;扣非净利润-1604.46万元,同比下降55.35%,环比增长11.84%。

分产品来看,2024年上半年公司主营业务中,整体解决方案收入7935.64万元,同比下降8.69%,占营业收入的65.11%;产品销售收入1676.26万元,同比增长11.78%,占营业收入的13.75%;运维及服务收入776.89万元,同比下降51.58%,占营业收入的6.37%。

2024年上半年,公司毛利率为27.35%,同比上升0.43个百分点;净利率为-28.89%,较上年同期上升42.05个百分点。从单季度指标来看,2024年第二季度公司毛利率为26.86%,同比下降3.77个百分点,环比下降1.41个百分点;净利率为-20.14%,较上年同期上升8.67个百分点,较上一季度上升25.07个百分点。

分产品看,整体解决方案、产品销售、运维及服务2024年上半年毛利率分别为18.63%、27.37%、25.92%。

数据显示,2024年上半年公司加权平均净资产收益率为-5.65%,较上年同期增长5.72个百分点;公司2024年上半年投入资本回报率为-2.06%,较上年同期增长4.81个百分点。
2024年上半年,公司经营活动现金流净额为-2286.55万元,同比增加5247.38万元,主要系上期处置不良资产包以及本期严控成本费用支出所致;筹资活动现金流净额1706.57万元,同比增加9787.99万元,主要系上期偿还筹资款项较多所致;投资活动现金流净额-1472.68万元,上年同期为417.77万元,主要系上期收到资产包处置款所致,本期主要投资性支出为恢复生产购置固定资产、在建工程等长期资产现金支出所致。
进一步统计发现,2024年上半年公司自由现金流为-4450.41万元,上年同期为-25297.38万元。

2024年上半年,公司营业收入现金比为169.75%。

营运能力方面,2024年上半年,公司公司总资产周转率为0.08次,上年同期为0.08次(2023年上半年行业平均值为0.18次,公司位居同行业55/59);固定资产周转率为0.56次,上年同期为0.60次(2023年上半年行业平均值为2.23次,公司位居同行业56/59);公司应收账款周转率、存货周转率分别为0.55次、0.96次。

2024年上半年,公司期间费用为7934.85万元,较上年同期减少811.25万元;期间费用率为65.10%,较上年同期下降1.33个百分点。其中,销售费用同比下降6.81%,管理费用同比下降15.99%,研发费用同比增长22.57%,财务费用同比下降20.91%。

资产重大变化方面,截至2024年上半年末,公司应收账款较上年末减少27.87%,占公司总资产比重下降3.66个百分点;无形资产较上年末增加97.65%,占公司总资产比重上升2.54个百分点;开发支出较上年末减少93.23%,占公司总资产比重下降2.05个百分点;应收票据较上年末减少59.13%,占公司总资产比重下降1.64个百分点。

负债重大变化方面,截至2024年上半年末,公司应付账款较上年末减少47.54%,占公司总资产比重下降6.00个百分点;短期借款较上年末增加73.37%,占公司总资产比重上升2.35个百分点;其他流动负债较上年末减少47.65%,占公司总资产比重下降0.64个百分点;其他应付款(含利息和股利)较上年末减少8.17%,占公司总资产比重上升0.01个百分点。

从存货变动来看,截至2024年上半年末,公司存货账面价值为9608.81万元,占净资产的16.38%,较上年末增加684.05万元。其中,存货跌价准备为666.3万元,计提比例为6.48%。

在偿债能力方面,公司2024年上半年末资产负债率为53.25%,相比上年末下降1.95个百分点;有息资产负债率为34.58%,相比上年末上升4.50个百分点。

2024年上半年,公司流动比率为1.33,速动比率为1.04。

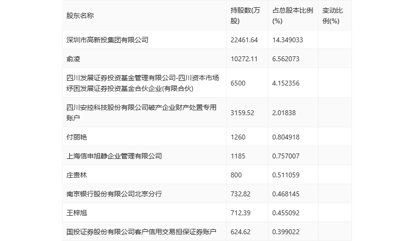
半年报显示,2024年上半年末公司十大流通股东中,新进股东为王梓旭、国投证券股份有限公司客户信用交易担保证券账户,取代了一季度末的董爱民、白欣。在具体持股比例上,四川安控科技股份有限公司破产企业财产处置专用账户持股有所下降。

筹码集中度方面,截至2024年上半年末,公司股东总户数为3.05万户,较一季度末下降了2116户,降幅6.49%;户均持股市值由一季度末的10.51万元下降至8.31万元,降幅为20.93%。

指标注解:
市盈率
=总市值/净利润。当公司亏损时市盈率为负,此时用市盈率估值没有实际意义,往往用市净率或市销率做参考。
市净率
=总市值/净资产。市净率估值法多用于盈利波动较大而净资产相对稳定的公司。
市销率
=总市值/营业收入。市销率估值法通常用于亏损或微利的成长型公司。
文中市盈率和市销率采用TTM方式,即以截至最近一期财报(含预报)12个月的数据计算。市净率采用LF方式,即以最近一期财报数据计算。
市盈率为负时,不显示当期分位数,会导致折线图中断。