龙虎榜 | 赢时胜今日涨6.52%,孙哥买入1.03亿元

查股网  2024-11-01 20:38  赢时胜(300377)个股分析

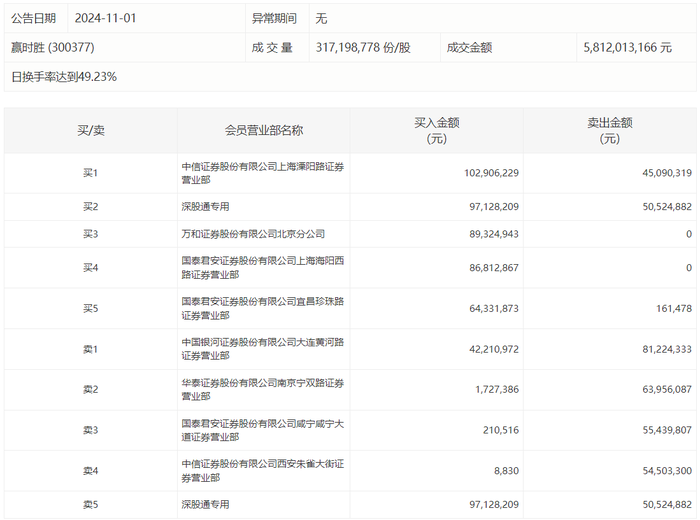
赢时胜今日涨6.52%,龙虎榜数据显示,上榜营业部席位全天成交8.36亿元,占当日总成交金额比例为14.38%。其中,买入金额为4.85亿元,卖出金额为3.51亿元,合计净买入1.34亿元。

具体来看,知名游资现身龙虎榜,孙哥(中信证券上海溧阳路证券营业部)、深股通专用分别买入1.03亿元、9712.82万元;中国银河证券大连黄河路证券营业部、华泰证券南京宁双路证券营业部分别卖出8122.43万元、6395.61万元。