光环新网:2024年第一季度净利润1.64亿元 同比下降5.50%

中证智能财讯 光环新网(300383)4月25日披露2024年一季报。2024年第一季度,公司实现营业总收入19.78亿元,同比增长5.25%;归母净利润1.64亿元,同比下降5.50%;扣非净利润1.65亿元,同比下降5.18%;经营活动产生的现金流量净额为3.75亿元,同比下降18.46%;报告期内,光环新网基本每股收益为0.09元,加权平均净资产收益率为1.30%。



2024年第一季度,公司毛利率为18.67%,同比上升0.41个百分点;净利率为8.33%,较上年同期下降0.61个百分点。

数据显示,2024年第一季度公司加权平均净资产收益率为1.30%,较上年同期下降0.12个百分点;公司2024年第一季度投入资本回报率为1.06%,较上年同期下降0.13个百分点。

2024年第一季度,公司经营活动现金流净额为3.75亿元,同比下降18.46%;筹资活动现金流净额5013.15万元,同比增加1.77亿元;投资活动现金流净额-1.33亿元,上年同期为-3.05亿元。

2024年第一季度,公司营业收入现金比为103.77%,净现比为228.54%。

资产重大变化方面,截至2024年一季度末,公司固定资产较上年末减少1.50%,占公司总资产比重下降1.05个百分点;货币资金较上年末增加7.80%,占公司总资产比重上升0.86个百分点;交易性金融资产较上年末减少56.69%,占公司总资产比重下降0.81个百分点;在建工程较上年末增加9.39%,占公司总资产比重上升0.79个百分点。

负债重大变化方面,截至2024年一季度末,公司短期借款较上年末增加7.50%,占公司总资产比重上升0.32个百分点;一年内到期的非流动负债较上年末减少14.07%,占公司总资产比重下降0.26个百分点;应付账款较上年末增加1.62%,占公司总资产比重上升0.05个百分点;长期借款较上年末减少0.82%,占公司总资产比重下降0.20个百分点。

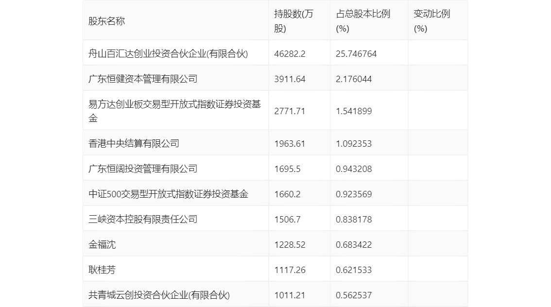
一季报显示,2024年一季度末公司十大流通股东中,新进股东为中证500交易型开放式指数证券投资基金、共青城云创投资合伙企业(有限合伙),取代了上年末的华夏行业景气混合型证券投资基金、大家人寿保险股份有限公司-万能产品。在具体持股比例上,易方达创业板交易型开放式指数证券投资基金、香港中央结算有限公司持股有所上升。

筹码集中度方面,截至2024年一季度末,公司股东总户数为10.66万户,较上年末下降了2833户,降幅2.59%;户均持股市值由上年末的15.96万元上升至16.00万元,增幅为0.25%。
