航天智造:2024年上半年净利润3.87亿元 同比增长130.05%

中证智能财讯 航天智造(300446)8月27日披露2024年半年报。2024年上半年,公司实现营业总收入38.32亿元,同比增长44.89%;归母净利润3.87亿元,同比增长130.05%;扣非净利润3.47亿元,同比增长7069.04%;经营活动产生的现金流量净额为3.77亿元,同比下降6.21%;报告期内,航天智造基本每股收益为0.4577元,加权平均净资产收益率为8.18%。

以8月26日收盘价计算,航天智造目前市盈率(TTM)约为16.7倍,市净率(LF)约为2.22倍,市销率(TTM)约为1.52倍。

公司近年市盈率(TTM)、市净率(LF)、市销率(TTM)历史分位图如下所示:



根据半年报,公司第二季度实现营业总收入19.36亿元,同比增长26.50%,环比增长2.13%;归母净利润2.2亿元,同比增长74.56%,环比增长31.52%;扣非净利润2.0亿元,同比增长3760.06%,环比增长36.02%。

半年报称,报告期内,公司主要从事汽车零部件、油气装备和高性能功能材料三大业务。
2024年上半年,公司毛利率为21.14%,同比下降1.02个百分点;净利率为11.26%,较上年同期上升2.25个百分点。从单季度指标来看,2024年第二季度公司毛利率为23.75%,同比下降0.37个百分点,环比上升5.27个百分点;净利率为12.36%,较上年同期上升1.42个百分点,较上一季度上升2.22个百分点。

数据显示,2024年上半年公司加权平均净资产收益率为8.18%,较上年同期增长7.03个百分点;公司2024年上半年投入资本回报率为7.58%,较上年同期增长7.22个百分点。

2024年上半年,公司经营活动现金流净额为3.77亿元,同比下降6.21%;筹资活动现金流净额-7.45亿元,同比减少6.21亿元;投资活动现金流净额-13.07亿元,上年同期为-1.83亿元。
进一步统计发现,2024年上半年公司自由现金流为-8.88亿元,上年同期为0.44亿元。

2024年上半年,公司营业收入现金比为79.81%,净现比为97.54%。

营运能力方面,2024年上半年,公司公司总资产周转率为0.42次,上年同期为0.03次(2023年上半年行业平均值为0.33次,公司位居同行业39/39);固定资产周转率为2.15次,上年同期为0.10次(2023年上半年行业平均值为1.71次,公司位居同行业39/39);公司应收账款周转率、存货周转率分别为2.74次、2.71次。

2024年上半年,公司期间费用为3.35亿元,较上年同期增加2994.99万元;但期间费用率为8.74%,较上年同期下降2.79个百分点。其中,销售费用同比增长15.04%,管理费用同比增长14.74%,研发费用同比增长25.77%,财务费用由去年同期的2386.52万元变为-223.05万元。
资料显示,财务费用的变动主要因为偿还借款导致利息费用减少,同时,新增募集资金存款利息导致利息收入增加。

资产重大变化方面,截至2024年上半年末,公司货币资金较上年末减少55.02%,占公司总资产比重下降15.33个百分点;应收账款较上年末增加29.28%,占公司总资产比重上升5.72个百分点;应收款项融资较上年末减少42.31%,占公司总资产比重下降3.87个百分点;固定资产较上年末增加0.17%,占公司总资产比重上升2.36个百分点。

负债重大变化方面,截至2024年上半年末,公司应付票据较上年末减少51.76%,占公司总资产比重下降6.64个百分点;短期借款较上年末减少76.01%,占公司总资产比重下降6.29个百分点;应付账款较上年末减少6.18%,占公司总资产比重上升1.14个百分点;应付职工薪酬较上年末减少16.51%,占公司总资产比重下降0.11个百分点。

从存货变动来看,截至2024年上半年末,公司存货账面价值为9.59亿元,占净资产的19.81%,较上年末减少3.1亿元。其中,存货跌价准备为1971.93万元,计提比例为2.02%。

在偿债能力方面,公司2024年上半年末资产负债率为40.21%,相比上年末下降10.36个百分点;有息资产负债率为3.47%,相比上年末下降6.14个百分点。

2024年上半年,公司流动比率为1.89,速动比率为1.58。

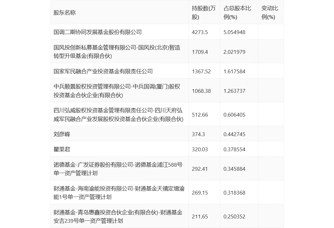
半年报显示,2024年上半年末公司十大流通股东中,新进股东为国调二期协同发展基金股份有限公司、国风投创新私募基金管理有限公司-国风投(北京)智造转型升级基金(有限合伙)、国家军民融合产业投资基金有限责任公司、中兵顺景股权投资管理有限公司-中兵国调(厦门)股权投资基金合伙企业(有限合伙)、四川弘威股权投资基金管理有限责任公司-四川天府弘威军民融合产业发展股权投资基金合伙企业(有限合伙)、诺德基金-广发证券股份有限公司-诺德基金浦江588号单一资产管理计划、财通基金-海南渝能投资有限公司-财通基金天禧定增渝能1号单一资产管理计划、财通基金-青岛惠鑫投资合伙企业(有限合伙)-财通基金安吉239号单一资产管理计划,取代了一季度末的袁惠英、张树林、锁亚强、滕月荣、邵晓东、张运刚、范香胜、陈兴珍。在具体持股比例上,瞿果君持股有所上升。

筹码集中度方面,截至2024年上半年末,公司股东总户数为2.92万户,较一季度末增长了1470户,增幅5.30%;户均持股市值由一季度末的48.79万元下降至34.46万元,降幅为29.37%。

指标注解:
市盈率
=总市值/净利润。当公司亏损时市盈率为负,此时用市盈率估值没有实际意义,往往用市净率或市销率做参考。
市净率
=总市值/净资产。市净率估值法多用于盈利波动较大而净资产相对稳定的公司。
市销率
=总市值/营业收入。市销率估值法通常用于亏损或微利的成长型公司。
文中市盈率和市销率采用TTM方式,即以截至最近一期财报(含预报)12个月的数据计算。市净率采用LF方式,即以最近一期财报数据计算。
市盈率为负时,不显示当期分位数,会导致折线图中断。