龙虎榜丨航天智装今日涨停,机构合计净卖出2420.08万元

http://ddx.gubit.cn  2023-07-11 16:43  航天智装(300455)公司分析

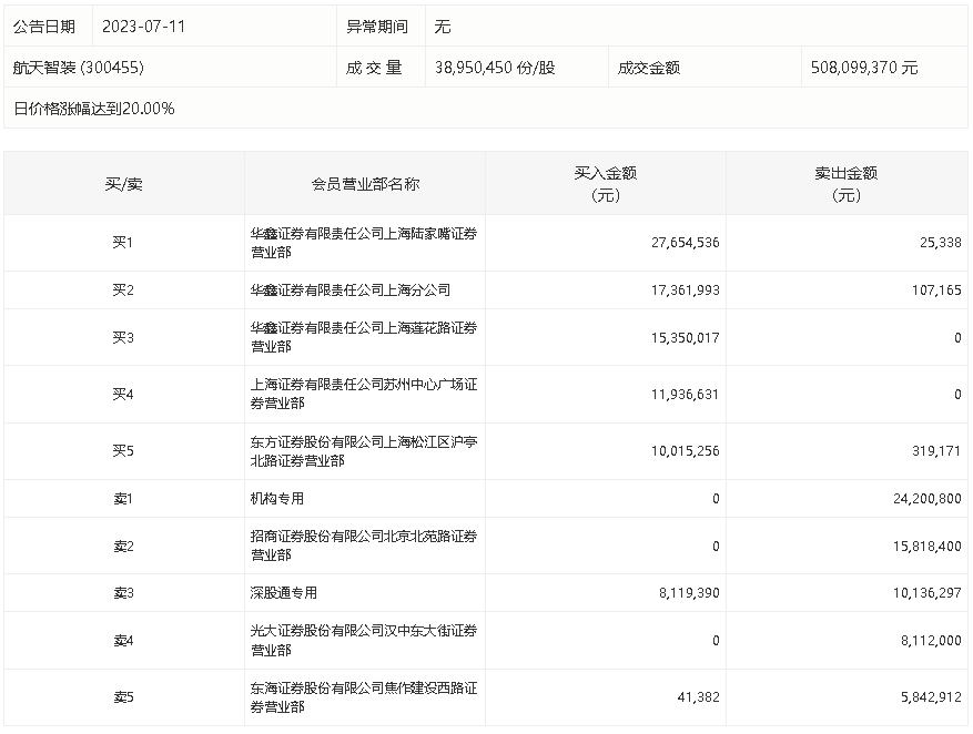
7月11日,航天智装今日涨停,龙虎榜数据显示,上榜营业部席位全天成交1.55亿元,占当日总成交金额比例为30.51%。其中,买入金额为9047.92万元,卖出金额为6456.21万元,合计净买入2591.71万元。

具体来看,机构合计净卖出2420.08万元。此外,华鑫证券上海陆家嘴证券营业部、华鑫证券上海分公司分别买入2765.45万元、1736.20万元;招商证券北京北苑路证券营业部、深股通专用分别卖出1581.84万元、1013.63万元。