汤姆猫:2024年第一季度净利润6211.89万元 同比下降39.22%

中证智能财讯 汤姆猫(300459)4月27日披露2024年一季报。2024年第一季度,公司实现营业总收入2.97亿元,同比下降12.94%;归母净利润6211.89万元,同比下降39.22%;扣非净利润5578.36万元,同比下降44.62%;经营活动产生的现金流量净额为5935.51万元,同比下降38.04%;报告期内,汤姆猫基本每股收益为0.02元,加权平均净资产收益率为2.05%。



2024年第一季度,公司毛利率为89.61%,同比下降1.71个百分点;净利率为20.85%,较上年同期下降8.98个百分点。

数据显示,2024年第一季度公司加权平均净资产收益率为2.05%,较上年同期下降0.54个百分点;公司2024年第一季度投入资本回报率为1.74%,较上年同期下降0.49个百分点。

2024年第一季度,公司经营活动现金流净额为5935.51万元,同比下降38.04%;筹资活动现金流净额-1.56亿元,同比减少3950.92万元;投资活动现金流净额1.08亿元,上年同期为-8813.31万元。

2024年第一季度,公司营业收入现金比为108.67%,净现比为95.55%。

资产重大变化方面,截至2024年一季度末,公司货币资金较上年末增加77.82%,占公司总资产比重上升4.90个百分点;其他应收款(含利息和股利)较上年末减少91.10%,占公司总资产比重下降3.14个百分点;应收账款较上年末减少13.93%,占公司总资产比重下降0.64个百分点;在建工程较上年末增加22.57%,占公司总资产比重上升0.59个百分点。

负债重大变化方面,截至2024年一季度末,公司短期借款较上年末增加20.39%,占公司总资产比重上升3.37个百分点;长期借款较上年末减少12.33%,占公司总资产比重下降1.38个百分点;应付职工薪酬较上年末减少49.81%,占公司总资产比重下降0.80个百分点;应付账款较上年末减少14.24%,占公司总资产比重下降0.22个百分点。

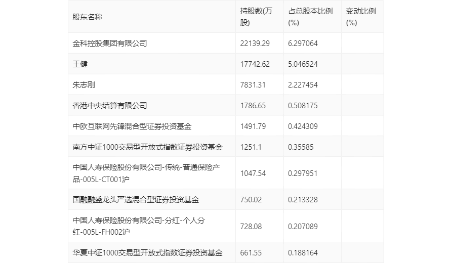
一季报显示,2024年一季度末公司十大流通股东中,新进股东为中欧互联网先锋混合型证券投资基金、南方中证1000交易型开放式指数证券投资基金、中国人寿保险股份有限公司-传统-普通保险产品-005L-CT001沪、国融融盛龙头严选混合型证券投资基金、中国人寿保险股份有限公司-分红-个人分红-005L-FH002沪、华夏中证1000交易型开放式指数证券投资基金,取代了上年末的方士雄、海富通股票混合型证券投资基金、信澳智远三年持有期混合型证券投资基金、泰康人寿保险有限责任公司-投连-行业配置、基本养老保险基金一二零二组合、黄凯。在具体持股比例上,王健持股有所上升,香港中央结算有限公司持股有所下降。

筹码集中度方面,截至2024年一季度末,公司股东总户数为24.04万户,较上年末下降了2891户,降幅1.19%;户均持股市值由上年末的7.14万元下降至6.62万元,降幅为7.28%。
