龙虎榜丨润欣科技今日涨停,机构合计净买入3718.09万元

查股网  2024-12-18 21:09  润欣科技(300493)个股分析

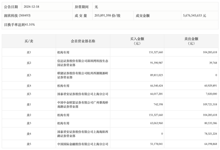
12月18日,润欣科技今日涨停,龙虎榜数据显示,上榜营业部席位全天成交10.87亿元,占当日总成交金额比例为19.15%。其中,买入金额为5.82亿元,卖出金额为5.05亿元,合计净买入7701.9万元。

具体来看,机构买入2.83亿元,卖出2.46亿元,合计净买入3718.09万元。此外,信达证券深圳湾科技生态园证券营业部、联储证券杭州西湖桃源岭证券营业部分别买入9139.10万元、8981.10万元;中国中金财富证券有限公司广州番禺桥南路证券营业部、国泰君安证券上海海阳西路证券营业部分别卖出1.10亿元、7832.12万元。