龙虎榜 | 友讯达今日涨停,知名游资著名刺客买入2429.44万元

http://ddx.gubit.cn  2023-05-22 16:37  友讯达(300514)公司分析

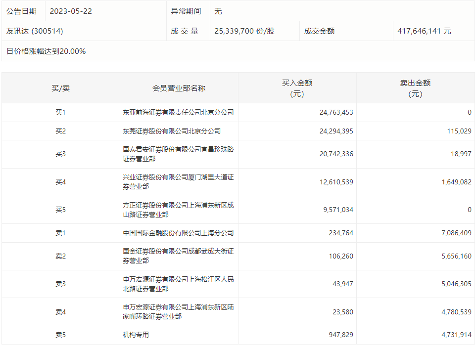
5月22日,友讯达今日涨停,龙虎榜数据显示,上榜营业部席位全天成交1.22亿元,占当日总成交金额比例为29.31%。其中,买入金额为9333.81万元,卖出金额为2908.44万元,合计净买入6425.37万元。

具体来看,机构买入94.78万元,卖出473.19万元,合计净卖出378.41万元。此外,知名游资现身龙虎榜,东亚前海证券北京分公司、著名刺客(东莞证券北京分公司)分别买入2476.35万元、2429.44万元;中国国际金融上海分公司、国金证券成都武成大街证券营业部分别卖出708.64万元、565.62万元。