龙虎榜丨爱司凯今日涨停,上榜营业部席位合计净卖出1183.25万元

http://ddx.gubit.cn  2023-07-17 16:39  爱司凯(300521)公司分析

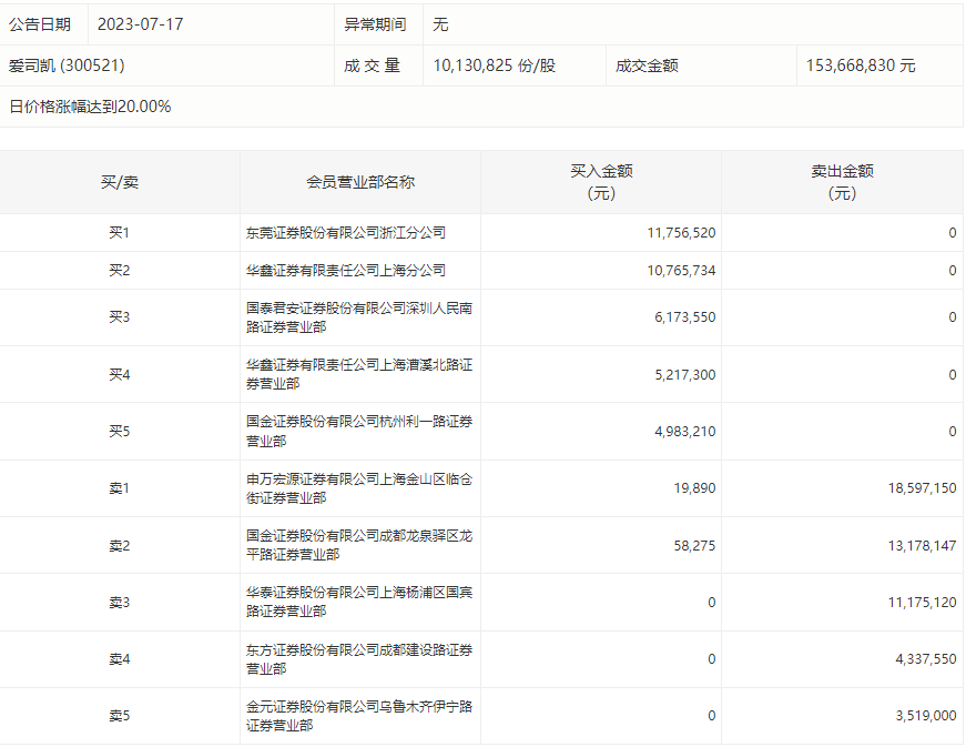
7月17日,爱司凯今日涨停,龙虎榜数据显示,上榜营业部席位全天成交8978.14万元,占当日总成交金额比例为58.42%。其中,买入金额为3897.45万元,卖出金额为5080.7万元,合计净卖出1183.25万元。

具体来看,东莞证券浙江分公司、华鑫证券上海分公司分别买入1175.65万元、1076.57万元;申万宏源证券有限公司上海金山区临仓街证券营业部、国金证券成都龙泉驿区龙平路证券营业部分别卖出1859.72万元、1317.81万元。