理工光科:2024年第一季度净利润658.99万元 同比增长68.43%

中证智能财讯 理工光科(300557)4月25日披露2024年一季报。2024年第一季度,公司实现营业总收入1.04亿元,同比增长17.20%;归母净利润658.99万元,同比增长68.43%;扣非净利润561.27万元,同比增长121.85%;经营活动产生的现金流量净额为-4720.77万元,上年同期为-1062.47万元;报告期内,理工光科基本每股收益为0.09元,加权平均净资产收益率为0.70%。


2024年第一季度,公司毛利率为35.30%,同比上升4.87个百分点;净利率为6.97%,较上年同期上升0.58个百分点。

数据显示,2024年第一季度公司加权平均净资产收益率为0.70%,较上年同期增长0.28个百分点;公司2024年第一季度投入资本回报率为0.40%,较上年同期增长0.14个百分点。

2024年第一季度,公司经营活动现金流净额为-4720.77万元,同比减少3658.29万元;筹资活动现金流净额-496.47万元,同比增加94.13万元;投资活动现金流净额-4.49万元,上年同期为-410.02万元。

2024年第一季度,公司营业收入现金比为122.50%,净现比为-716.37%。

资产重大变化方面,截至2024年一季度末,公司存货较上年末增加10.37%,占公司总资产比重上升1.97个百分点;货币资金较上年末减少7.85%,占公司总资产比重下降1.27个百分点;应收票据较上年末减少60.70%,占公司总资产比重下降0.92个百分点;应收账款较上年末减少7.86%,占公司总资产比重下降0.65个百分点。

负债重大变化方面,截至2024年一季度末,公司应付职工薪酬较上年末减少94.00%,占公司总资产比重下降1.25个百分点;应付账款较上年末减少7.39%,占公司总资产比重下降0.46个百分点;应付票据较上年末减少25.88%,占公司总资产比重下降0.86个百分点;合同负债较上年末减少6.55%,占公司总资产比重下降0.23个百分点。

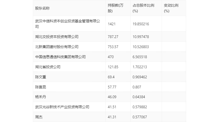
一季报显示,2024年一季度末公司十大流通股东中,持股最多的为武汉中信科资本创业投资基金管理有限公司,占比19.85%。在具体持股比例上,陈宣昆持股有所下降。

筹码集中度方面,截至2024年一季度末,公司股东总户数为8631户,较上年末下降了566户,降幅6.15%;户均持股市值由上年末的27.42万元下降至23.80万元,降幅为13.20%。
