龙虎榜丨宣亚国际今日涨停,机构合计净买入874.98万元,方新侠买入4297.30万元

http://ddx.gubit.cn  2023-06-12 16:33  宣亚国际(300612)公司分析

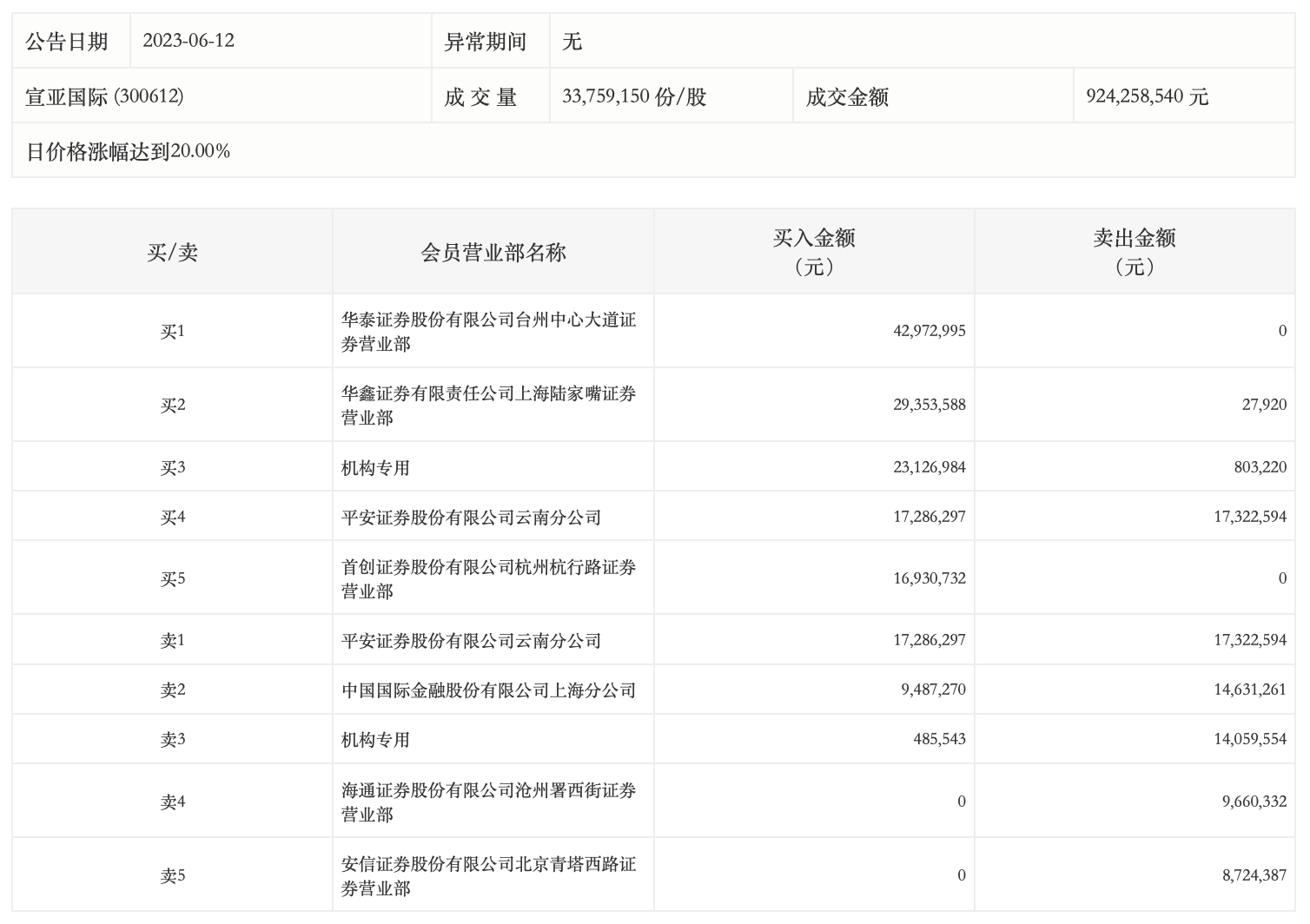
6月12日,宣亚国际今日涨停,龙虎榜数据显示,上榜营业部席位全天成交2.05亿元,占当日总成交金额比例为22.17%。其中,买入金额为1.4亿元,卖出金额为6522.93万元,合计净买入7441.41万元。

具体来看,机构买入2361.25万元,卖出1486.28万元,合计净买入874.98万元。此外,知名游资现身龙虎榜,方新侠(华泰证券台州中心大道证券营业部)、华鑫证券上海陆家嘴证券营业部分别买入4297.30万元、2935.36万元;平安证券云南分公司、中国国际金融上海分公司分别卖出1732.26万元、1463.13万元。