寒锐钴业:2024年第一季度净利润3066.34万元 同比增长72.83%

中证智能财讯 寒锐钴业(300618)4月25日披露2024年一季报。2024年第一季度,公司实现营业总收入13.11亿元,同比增长15.93%;归母净利润3066.34万元,同比增长72.83%;扣非净利润6105.13万元,同比增长70.24%;经营活动产生的现金流量净额为-3175.67万元,上年同期为9154.54万元;报告期内,寒锐钴业基本每股收益为0.1元,加权平均净资产收益率为0.59%。


2024年第一季度,公司毛利率为16.57%,同比上升0.81个百分点;净利率为3.06%,较上年同期上升1.31个百分点。

数据显示,2024年第一季度公司加权平均净资产收益率为0.59%,较上年同期增长0.24个百分点;公司2024年第一季度投入资本回报率为0.69%,较上年同期增长0.62个百分点。

2024年第一季度,公司经营活动现金流净额为-3175.67万元,同比减少1.23亿元;筹资活动现金流净额3.99亿元,同比增加3.75亿元;投资活动现金流净额-3.02亿元,上年同期为-8778.81万元。

2024年第一季度,公司营业收入现金比为102.82%,净现比为-103.57%。

资产重大变化方面,截至2024年一季度末,公司其他非流动资产较上年末增加175.86%,占公司总资产比重上升1.69个百分点;在建工程较上年末减少48.26%,占公司总资产比重下降1.63个百分点;预付款项较上年末增加143.66%,占公司总资产比重上升1.44个百分点;存货较上年末减少0.16%,占公司总资产比重下降1.25个百分点。

负债重大变化方面,截至2024年一季度末,公司应付账款较上年末减少33.23%,占公司总资产比重下降3.68个百分点;短期借款较上年末增加23.61%,占公司总资产比重上升1.99个百分点;应付票据较上年末增加367.63%,占公司总资产比重上升1.43个百分点;一年内到期的非流动负债较上年末减少20.90%,占公司总资产比重下降0.79个百分点。

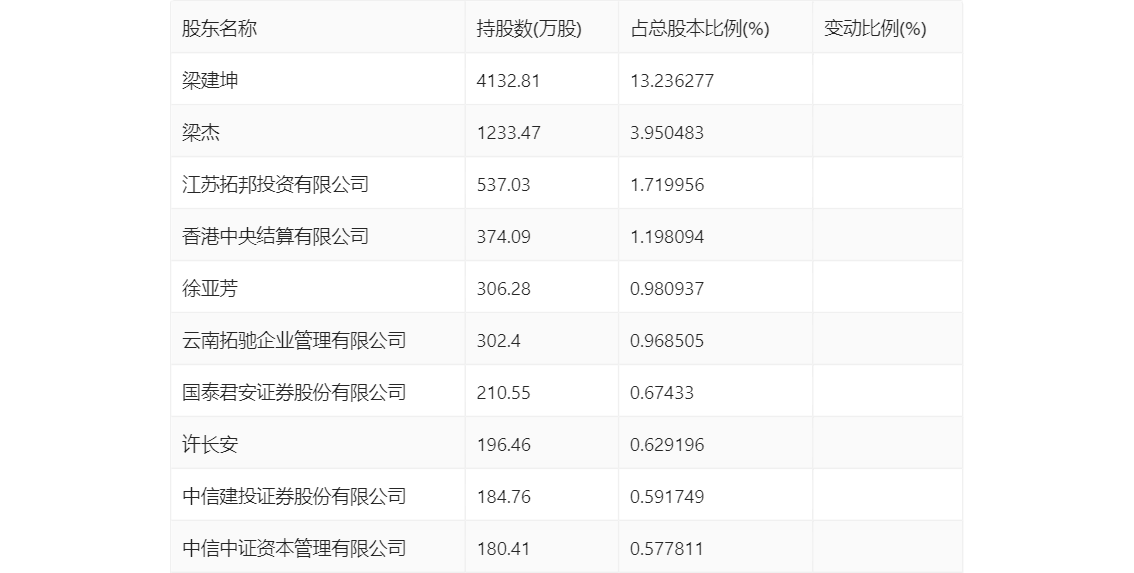
一季报显示,2024年一季度末公司十大流通股东中,新进股东为许长安、中信中证资本管理有限公司,取代了上年末的字浩予、闫方义。在具体持股比例上,江苏拓邦投资有限公司、香港中央结算有限公司、国泰君安证券股份有限公司、中信建投证券股份有限公司持股有所下降。

筹码集中度方面,截至2024年一季度末,公司股东总户数为5.25万户,较上年末下降了1544户,降幅2.86%;户均持股市值由上年末的16.35万元下降至14.34万元,降幅为12.29%。
