金银河:2024年上半年亏损1300.45万元

中证智能财讯 金银河(300619)8月29日披露2024年半年度报告。2024年上半年,公司实现营业收入8.02亿元,同比下降29.94%;归母净利润亏损1300.45万元,上年同期盈利5960.47万元;扣非净利润亏损1997.85万元,上年同期盈利5544.03万元;经营活动产生的现金流量净额为-3.95亿元,上年同期为-9882.03万元;报告期内,金银河基本每股收益为-0.0972元,加权平均净资产收益率为-0.78%。
报告期内,公司合计非经常性损益为697.40万元,其中计入当期损益的政府补助为814.25万元。

以8月28日收盘价计算,金银河目前市盈率(TTM)约为120.37倍,市净率(LF)约为1.55倍,市销率(TTM)约为1.33倍。

公司近年市盈率(TTM)、市净率(LF)、市销率(TTM)历史分位图如下所示:



根据半年报,公司第二季度实现营业总收入4.55亿元,同比下降32.05%,环比增长30.88%;归母净利润164.52万元,同比下降95.71%,环比增长111.23%;扣非净利润-401.96万元,同比下降111.18%,环比增长74.81%。

半年报显示,公司主要从事高端智能装备制造,以及使用自主研发自产装备生产硅基、碳基新材料、锂云母全元素高值化提取产品。
2024年上半年,公司毛利率为18.47%,同比下降2.75个百分点;净利率为-2.28%,较上年同期下降7.10个百分点。从单季度指标来看,2024年第二季度公司毛利率为18.38%,同比下降2.42个百分点,环比下降0.21个百分点;净利率为0.22%,较上年同期下降5.17个百分点,较上一季度上升5.77个百分点。

数据显示,2024年上半年公司加权平均净资产收益率为-0.78%,较上年同期下降6.77个百分点;公司2024年上半年投入资本回报率为0.46%,较上年同期下降3.20个百分点。

2024年上半年,公司经营活动现金流净额为-3.95亿元,同比减少2.96亿元;筹资活动现金流净额1.06亿元,同比减少3.26亿元,主要系金流减少所致。主要本报告期系偿还债务所支付的现金对比上年同期增加所致;投资活动现金流净额-1.23亿元,上年同期为-3.45亿元,主要系本报告期江西金德锂的锂云母提取电池级碳酸锂及高附加值产品的工程与设备项目和江西安德力的工程与设备项目对比上年同期支付的现金流减少所致。
进一步统计发现,2024年上半年公司自由现金流为-4.45亿元,上年同期为-4.59亿元。

2024年上半年,公司营业收入现金比为53.74%。

营运能力方面,2024年上半年,公司总资产周转率为0.18次,上年同期为0.31次(2023年上半年行业平均值为0.23次,公司位居同行业2/19);固定资产周转率为0.76次,上年同期为1.56次(2023年上半年行业平均值为3.41次,公司位居同行业15/19);公司应收账款周转率、存货周转率分别为0.79次、0.95次。

2024年上半年,公司期间费用为1.60亿元,较上年同期减少329.47万元;但期间费用率为20.00%,较上年同期上升5.70个百分点。其中,销售费用同比下降24.64%,管理费用同比增长4.65%,研发费用同比下降11.52%,财务费用同比增长34.19%。
资料显示,财务费用的变动主要因为本报告期银行贷款利息支出及融资租赁利息支出增加。

资产重大变化方面,截至2024年上半年末,公司货币资金较上年末减少34.95%,占公司总资产比重下降7.29个百分点;应收账款较上年末增加13.64%,占公司总资产比重上升3.91个百分点;固定资产较上年末增加10.30%,占公司总资产比重上升3.41个百分点;其他流动资产较上年末增加48.83%,占公司总资产比重上升0.99个百分点。

负债重大变化方面,截至2024年上半年末,公司合同负债较上年末减少44.44%,占公司总资产比重下降4.09个百分点;短期借款较上年末增加12.98%,占公司总资产比重上升4.03个百分点;长期借款较上年末增加42.41%,占公司总资产比重上升2.03个百分点;一年内到期的非流动负债较上年末减少25.62%,占公司总资产比重下降1.35个百分点。

从存货变动来看,截至2024年上半年末,公司存货账面价值为6.62亿元,占净资产的40.51%,较上年末减少4745.53万元。其中,存货跌价准备为892.01万元,计提比例为1.33%。

在偿债能力方面,公司2024年上半年末资产负债率为61.78%,相比上年末下降0.90个百分点;有息资产负债率为36.96%,相比上年末上升4.72个百分点。

2024年上半年,公司流动比率为1.18,速动比率为0.90。

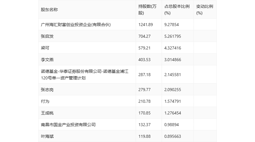
半年报显示,2024年上半年末公司十大流通股东中,新进股东为诺德基金-华泰证券股份有限公司-诺德基金浦江120号单一资产管理计划、南昌市国金产业投资有限公司,取代了一季度末的黄旭耀、永诚3号私募证券投资基金。在具体持股比例上,李文燕、王成桃、叶海斌持股有所上升,广州海汇财富创业投资企业(有限合伙)、梁可、张志岗、付为持股有所下降。

筹码集中度方面,截至2024年上半年末,公司股东总户数为9467户,较一季度末下降了747户,降幅7.31%;户均持股市值由一季度末的40.57万元下降至34.27万元,降幅为15.53%。

指标注解:
市盈率
=总市值/净利润。当公司亏损时市盈率为负,此时用市盈率估值没有实际意义,往往用市净率或市销率做参考。
市净率
=总市值/净资产。市净率估值法多用于盈利波动较大而净资产相对稳定的公司。
市销率
=总市值/营业收入。市销率估值法通常用于亏损或微利的成长型公司。
文中市盈率和市销率采用TTM方式,即以截至最近一期财报(含预报)12个月的数据计算。市净率采用LF方式,即以最近一期财报数据计算。
市盈率为负时,不显示当期分位数,会导致折线图中断。