万兴科技:2024年第一季度净利润2564.98万元 同比增长22.99%

中证智能财讯 万兴科技(300624)4月27日披露2024年一季报。2024年第一季度,公司实现营业总收入3.58亿元,同比增长0.90%;归母净利润2564.98万元,同比增长22.99%;扣非净利润2276.79万元,同比增长26.59%;经营活动产生的现金流量净额为-794.42万元,上年同期为2010.45万元;报告期内,万兴科技基本每股收益为0.19元,加权平均净资产收益率为1.92%。


2024年第一季度,公司毛利率为94.50%,同比下降1.21个百分点;净利率为7.69%,较上年同期上升0.65个百分点。

数据显示,2024年第一季度公司加权平均净资产收益率为1.92%,较上年同期下降0.58个百分点;公司2024年第一季度投入资本回报率为1.73%,较上年同期下降0.46个百分点。

2024年第一季度,公司经营活动现金流净额为-794.42万元,同比减少2804.87万元,主要系收到税收返还金额减少所致;筹资活动现金流净额-414.73万元,同比增加37.20万元;投资活动现金流净额-1459.77万元,上年同期为-618.46万元,主要系本期收到结构性存款及支付的购买资产采购款增加所致。

2024年第一季度,公司营业收入现金比为104.34%,净现比为-30.97%。

资产重大变化方面,截至2024年一季度末,公司交易性金融资产较上年末减少39.75%,占公司总资产比重下降4.25个百分点;无形资产较上年末增加105.92%,占公司总资产比重上升3.33个百分点;固定资产较上年末增加5.14%,占公司总资产比重上升1.26个百分点;货币资金较上年末减少5.18%,占公司总资产比重下降1.16个百分点。

负债重大变化方面,截至2024年一季度末,公司应付职工薪酬较上年末减少43.45%,占公司总资产比重下降3.13个百分点;其他应付款(含利息和股利)较上年末增加8.42%,占公司总资产比重上升0.27个百分点;合同负债较上年末增加11.41%,占公司总资产比重上升0.19个百分点;应付账款较上年末减少24.33%,占公司总资产比重下降0.16个百分点。

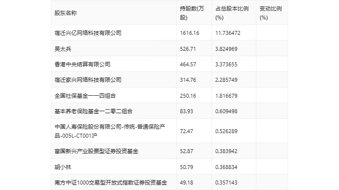
一季报显示,2024年一季度末的公司十大流通股东中,新进股东为中国人寿保险股份有限公司-传统-普通保险产品-005L-CT001沪、胡小林、南方中证1000交易型开放式指数证券投资基金,取代了上年末的银华中小盘精选混合型证券投资基金、嘉实文体娱乐股票型证券投资基金、中国人寿委托建信基金公司股票型组合。在具体持股比例上,吴太兵、香港中央结算有限公司持股有所上升,全国社保基金一一四组合、基本养老保险基金一二零二组合、富国新兴产业股票型证券投资基金持股有所下降。

筹码集中度方面,截至2024年一季度末,公司股东总户数为5.66万户,较上年末增长了1.23万户,增幅27.68%;户均持股市值由上年末的29.38万元下降至22.78万元,降幅为22.47%。
