光莆股份:2023年净利同比增长70.04% 拟10派2元

中证智能财讯 光莆股份(300632)4月22日披露2023年年报。2023年,公司实现营业总收入8.94亿元,同比增长8.26%;归母净利润8929.24万元,同比增长70.04%;扣非净利润4724.62万元,同比增长19.13%;经营活动产生的现金流量净额为1.53亿元,同比增长149.05%;报告期内,光莆股份基本每股收益为0.2926元,加权平均净资产收益率为4.70%。公司2023年度分配预案为:拟向全体股东每10股派现2元(含税)。
报告期内,公司合计非经常性损益为4204.62万元,其中非金融企业持有金融资产和金融负债产生的公允价值变动损益以及处置金融资产和金融负债产生的损益为4296.69万元。

以4月19日收盘价计算,光莆股份目前市盈率(TTM)约为31.03倍,市净率(LF)约为1.44倍,市销率(TTM)约为3.1倍。

公司近年市盈率(TTM)、市净率(LF)、市销率(TTM)历史分位图如下所示:



数据统计显示,光莆股份近三年营业总收入复合增长率为-2.47%,在LED行业已披露2023年数据的16家公司中排名第13。近三年净利润复合年增长率为-12.96%,排名14/16。

分产品来看,2023年公司主营业务中,半导体光应用收入6.56亿元,同比增长13.70%,占营业收入的73.33%;FPC+收入1.21亿元,同比下降4.55%,占营业收入的13.49%;医疗美容收入0.99亿元,同比增长25.75%,占营业收入的11.03%。

2023年,公司毛利率为28.76%,同比上升0.29个百分点;净利率为9.87%,较上年同期上升3.56个百分点。从单季度指标来看,2023年第四季度公司毛利率为12.70%,同比上升1.89个百分点,环比下降16.62个百分点;净利率为-16.74%,较上年同期上升30.12个百分点,较上一季度下降27.85个百分点。

报告期内,公司前五大客户合计销售金额5.11亿元,占总销售金额比例为57.13%,公司前五名供应商合计采购金额1.24亿元,占年度采购总额比例为27.61%。


数据显示,2023年公司加权平均净资产收益率为4.70%,较上年同期增长2.07个百分点;公司2023年投入资本回报率为4.10%,较上年同期增长1.84个百分点。

2023年,公司经营活动现金流净额为1.53亿元,同比增长149.05%;筹资活动现金流净额-1.44亿元,同比减少2.14亿元;投资活动现金流净额1.97亿元,上年同期为-7.07亿元。
进一步统计发现,2023年公司自由现金流为4.67亿元,上年同期为-6.22亿元。

2023年,公司营业收入现金比为128.00%,净现比为171.68%。

营运能力方面,2023年,公司公司总资产周转率为0.34次,上年同期为0.32次(2022年行业平均值为0.51次,公司位居同行业26/30);固定资产周转率为2.53次,上年同期为2.98次(2022年行业平均值为2.98次,公司位居同行业14/30);公司应收账款周转率、存货周转率分别为4.87次、4.26次。

资产重大变化方面,截至2023年年末,公司交易性金融资产较上年末减少25.91%,占公司总资产比重下降11.72个百分点;货币资金较上年末增加44.40%,占公司总资产比重上升7.52个百分点;固定资产较上年末增加21.53%,占公司总资产比重上升2.60个百分点;在建工程较上年末减少66.52%,占公司总资产比重下降1.15个百分点。

负债重大变化方面,截至2023年年末,公司一年内到期的非流动负债较上年末减少51.86%,占公司总资产比重下降2.11个百分点;应付票据较上年末增加111.32%,占公司总资产比重上升1.55个百分点;应付账款较上年末增加26.78%,占公司总资产比重上升1.36个百分点;短期借款较上年末减少14.66%,占公司总资产比重下降1.31个百分点。

从存货变动来看,截至2023年年末,公司存货账面价值为1.46亿元,占净资产的7.58%,较上年末减少697.31万元。其中,存货跌价准备为2695.33万元,计提比例为15.58%。

2023年全年,公司研发投入金额为6251.84万元,同比增长9.05%;研发投入占营业收入比例为6.99%,相比上年同期上升0.05个百分点。此外,公司全年研发投入资本化率为0。


年报称,2023年公司新申请专利38项(其中发明专利六项),新获得专利29项(其中发明专利两项)。
在偿债能力方面,公司2023年年末资产负债率为25.76%,相比上年末下降0.66个百分点;有息资产负债率为12.52%,相比上年末下降3.08个百分点。

2023年,公司流动比率为3.35,速动比率为3.09。

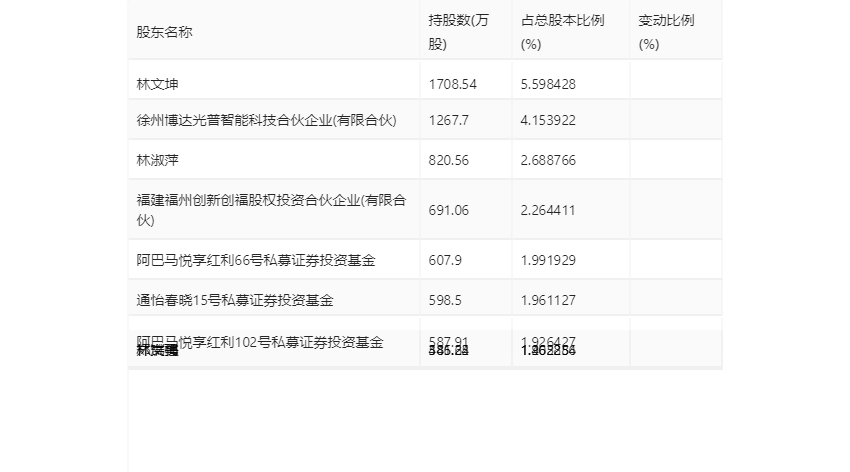
年报显示,2023年年末公司十大流通股东中,新进股东为林文美,取代了三季度末的吉安奥沣捷光电科技有限公司。在具体持股比例上,郑洪强、林瑞梅持股有所下降。

筹码集中度方面,截至2023年年末,公司股东总户数为1.76万户,较三季度末下降了372户,降幅2.07%;户均持股市值由三季度末的20.39万元上升至21.88万元,增幅为7.31%。

指标注解:
市盈率
=总市值/净利润。当公司亏损时市盈率为负,此时用市盈率估值没有实际意义,往往用市净率或市销率做参考。
市净率
=总市值/净资产。市净率估值法多用于盈利波动较大而净资产相对稳定的公司。
市销率
=总市值/营业收入。市销率估值法通常用于亏损或微利的成长型公司。
文中市盈率和市销率采用TTM方式,即以截至最近一期财报(含预报)12个月的数据计算。市净率采用LF方式,即以最近一期财报数据计算。
市盈率为负时,不显示当期分位数,会导致折线图中断。