光莆股份:2024年上半年净利润4536.16万元 同比下降44.18%

中证智能财讯 光莆股份(300632)8月28日披露2024年半年度报告。2024年上半年,公司实现营业收入4.21亿元,同比下降15.03%;归母净利润4536.16万元,同比下降44.18%;扣非净利润1630.92万元,同比下降73.71%;经营活动产生的现金流量净额为151.32万元,同比下降97.48%;报告期内,光莆股份基本每股收益为0.1486元,加权平均净资产收益率为2.39%。
报告期内,公司合计非经常性损益为2905.25万元,其中除同公司正常经营业务相关的有效套期保值业务外,非金融企业持有金融资产和金融负债产生的公允价值变动损益以及处置金融资产和金融负债产生的损益为3115.32万元。

以8月27日收盘价计算,光莆股份目前市盈率(TTM)约为52.42倍,市净率(LF)约为1.54倍,市销率(TTM)约为3.41倍。

公司近年市盈率(TTM)、市净率(LF)、市销率(TTM)历史分位图如下所示:



根据半年报,公司第二季度实现营业总收入2.16亿元,同比下降19.17%,环比增长5.59%;归母净利润2203.34万元,同比下降57.57%,环比下降5.55%;扣非净利润59.01万元,同比下降98.55%,环比下降96.25%。

半年报称,厦门光莆电子股份有限公司是一家技术先导型国家级高新技术企业,30年来,始终坚持科技创新,围绕“技术协同”和“应用协同”聚焦在半导体光应用及柔性复合材料两大业务领域,致力于成为“半导体光应用领军者、数字绿色能源领跑者”。
2024年上半年,公司毛利率为29.70%,同比下降3.21个百分点;净利率为10.65%,较上年同期下降5.94个百分点。从单季度指标来看,2024年第二季度公司毛利率为26.12%,同比下降4.84个百分点,环比下降7.35个百分点;净利率为9.78%,较上年同期下降9.58个百分点,较上一季度下降1.79个百分点。

数据显示,2024年上半年公司加权平均净资产收益率为2.39%,较上年同期下降1.80个百分点;公司2024年上半年投入资本回报率为2.10%,较上年同期下降1.61个百分点。

2024年上半年,公司经营活动现金流净额为151.32万元,同比下降97.48%,主要系报告期内,产品单价下降导致销售收入减少,相应回款减少以及研发投入和销售费用增加所致;筹资活动现金流净额-1.61亿元,同比增加238.43万元,主要系报告期内归还借款减少所致;投资活动现金流净额1.15亿元,上年同期为2.71亿元,主要系报告期内购买理财产品增加所致。
进一步统计发现,2024年上半年公司自由现金流为1.55亿元,相比上年同期下降53.78%。

2024年上半年,公司营业收入现金比为108.42%,净现比为3.34%。

营运能力方面,2024年上半年,公司公司总资产周转率为0.17次,上年同期为0.19次(2023年上半年行业平均值为0.24次,公司位居同行业21/30);固定资产周转率为1.10次,上年同期为1.56次(2023年上半年行业平均值为1.47次,公司位居同行业13/30);公司应收账款周转率、存货周转率分别为2.18次、2.05次。

2024年上半年,公司期间费用为1.05亿元,较上年同期增加2079.47万元;期间费用率为24.92%,较上年同期上升7.95个百分点。其中,销售费用同比增长1.69%,管理费用同比增长5.06%,研发费用同比增长26.1%,财务费用由去年同期的-1281.49万元变为-84.31万元。
资料显示,财务费用的变动主要因为报告期内受汇率波动影响,汇兑收益比上年同期减少。

资产重大变化方面,截至2024年上半年末,公司交易性金融资产较上年末减少16.98%,占公司总资产比重下降3.83个百分点;其他非流动金融资产较上年末增加88.31%,占公司总资产比重上升1.70个百分点;应收账款较上年末增加1.98%,占公司总资产比重上升0.63个百分点;固定资产较上年末减少2.18%,占公司总资产比重上升0.61个百分点。

负债重大变化方面,截至2024年上半年末,公司长期借款较上年末减少38.11%,占公司总资产比重下降1.08个百分点,主要系报告期内偿还借款增加;应付账款较上年末减少15.56%,占公司总资产比重下降0.66个百分点;短期借款较上年末增加12.59%,占公司总资产比重上升1.48个百分点;应付票据较上年末减少28.62%,占公司总资产比重下降0.71个百分点。

从存货变动来看,截至2024年上半年末,公司存货账面价值为1.43亿元,占净资产的7.87%,较上年末减少329.42万元。其中,存货跌价准备为2461.43万元,计提比例为14.7%。

在偿债能力方面,公司2024年上半年末资产负债率为25.58%,相比上年末下降0.18个百分点;有息资产负债率为13.55%,相比上年末上升1.03个百分点。

2024年上半年,公司流动比率为3.04,速动比率为2.79。

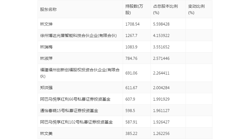
半年报显示,2024年上半年末公司十大流通股东中,持股最多的为林文坤,占比5.60%。十大流通股东名单相比2024年一季报维持不变。在具体持股比例上,郑洪强持股有所上升,林淑萍持股有所下降。

值得注意的是,根据半年报数据,光莆股份11.81%股份处于质押状态。其中,第一大股东林文坤质押2486.00万股公司股份,占其全部持股的36.38%。
筹码集中度方面,截至2024年上半年末,公司股东总户数为1.68万户,较一季度末下降了254户,降幅1.49%;户均持股市值由一季度末的18.17万元下降至18.10万元,降幅为0.39%。

指标注解:
市盈率
=总市值/净利润。当公司亏损时市盈率为负,此时用市盈率估值没有实际意义,往往用市净率或市销率做参考。
市净率
=总市值/净资产。市净率估值法多用于盈利波动较大而净资产相对稳定的公司。
市销率
=总市值/营业收入。市销率估值法通常用于亏损或微利的成长型公司。
文中市盈率和市销率采用TTM方式,即以截至最近一期财报(含预报)12个月的数据计算。市净率采用LF方式,即以最近一期财报数据计算。
市盈率为负时,不显示当期分位数,会导致折线图中断。