同和药业:2024年上半年净利润6955.20万元 同比增长21.96%

中证智能财讯 同和药业(300636)8月29日披露2024年半年报。2024年上半年,公司实现营业总收入3.82亿元,同比增长0.08%;归母净利润6955.20万元,同比增长21.96%;扣非净利润6752.63万元,同比增长36.12%;经营活动产生的现金流量净额为8499.62万元,同比下降32.04%;报告期内,同和药业基本每股收益为0.1656元,加权平均净资产收益率为3.08%。

以8月28日收盘价计算,同和药业目前市盈率(TTM)约为27.85倍,市净率(LF)约为1.45倍,市销率(TTM)约为4.57倍。

公司近年市盈率(TTM)、市净率(LF)、市销率(TTM)历史分位图如下所示:



根据半年报,公司第二季度实现营业总收入1.76亿元,同比增长9.06%,环比下降14.95%;归母净利润2598.93万元,同比增长8.59%,环比下降40.34%;扣非净利润2703.86万元,同比增长61.19%,环比下降33.22%。

资料显示,公司主营业务为化学原料药和医药中间体的研发、生产和销售。
2024年上半年,公司毛利率为34.53%,同比上升1.20个百分点;净利率为18.20%,较上年同期上升3.26个百分点。从单季度指标来看,2024年第二季度公司毛利率为32.01%,同比上升2.18个百分点,环比下降4.66个百分点;净利率为14.80%,较上年同期下降0.07个百分点,较上一季度下降6.30个百分点。

数据显示,2024年上半年公司加权平均净资产收益率为3.08%,较上年同期下降1.12个百分点;公司2024年上半年投入资本回报率为2.05%,较上年同期下降0.81个百分点。

2024年上半年,公司经营活动现金流净额为8499.62万元,同比下降32.04%,主要系报告期应收账款增加所致;筹资活动现金流净额3214.05万元,同比减少1.20亿元,主要系报告期偿还债务支付的现金增加额大于取得借款收到的现金增加额所致;投资活动现金流净额-2.08亿元,上年同期为-3.32亿元,主要系报告期二厂区阶段性投资减少及购买银行大额存单减少共同所致。
进一步统计发现,2024年上半年公司自由现金流为-1.39亿元,上年同期为-0.90亿元。

2024年上半年,公司营业收入现金比为93.97%,净现比为122.21%。

营运能力方面,2024年上半年,公司总资产周转率为0.12次,上年同期为0.16次(2023年上半年行业平均值为0.22次,公司位居同行业34/45);固定资产周转率为0.32次,上年同期为0.61次(2023年上半年行业平均值为0.92次,公司位居同行业34/45);公司应收账款周转率、存货周转率分别为4.26次、0.48次。

2024年上半年,公司期间费用为4163.86万元,较上年同期减少2865.12万元;期间费用率为10.90%,较上年同期下降7.51个百分点。其中,销售费用同比增长6.96%,管理费用同比下降8.43%,研发费用同比下降42.43%,财务费用由去年同期的87.51万元变为-1064.83万元。
资料显示,财务费用的变动主要因为报告期银行存款利息增加。

资产重大变化方面,截至2024年上半年末,公司在建工程较上年末减少67.62%,占公司总资产比重下降10.73个百分点;固定资产较上年末增加34.03%,占公司总资产比重上升9.28个百分点;货币资金较上年末减少17.87%,占公司总资产比重下降3.27个百分点;一年内到期的非流动资产较上年末增加208.32%,占公司总资产比重上升3.06个百分点。

负债重大变化方面,截至2024年上半年末,公司长期借款较上年末增加59.60%,占公司总资产比重上升4.22个百分点,主要系报告期长期借款增加;一年内到期的非流动负债较上年末减少79.54%,占公司总资产比重下降2.18个百分点;应付票据较上年末减少44.96%,占公司总资产比重下降1.18个百分点;其他应付款(含利息和股利)较上年末减少49.12%,占公司总资产比重下降0.50个百分点。

从存货变动来看,截至2024年上半年末,公司存货账面价值为5.26亿元,占净资产的23.05%,较上年末增加264.36万元。其中,存货跌价准备为2229.94万元,计提比例为4.07%。

在偿债能力方面,公司2024年上半年末资产负债率为31.47%,相比上年末上升0.58个百分点;有息资产负债率为25.54%,相比上年末上升1.73个百分点。

2024年上半年,公司流动比率为2.11,速动比率为1.23。

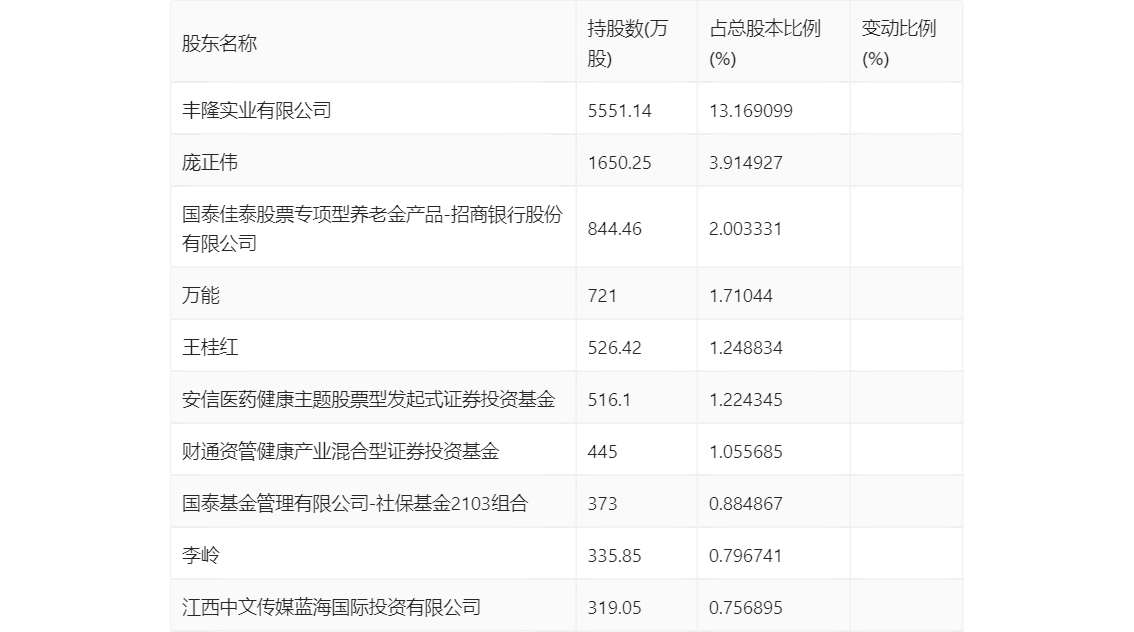
半年报显示,2024年上半年末的公司十大流通股东中,新进股东为安信医药健康主题股票型发起式证券投资基金、社保基金2103组合,取代了一季度末的葛燕、重环雅颂私募股权投资基金。在具体持股比例上,丰隆实业有限公司、庞正伟、国泰佳泰股票专项型养老金产品-招商银行股份有限公司、万能、王桂红、财通资管健康产业混合型证券投资基金、江西中文传媒蓝海国际投资有限公司持股有所上升,李岭持股有所下降。

筹码集中度方面,截至2024年上半年末,公司股东总户数为1.29万户,较一季度末下降了1785户,降幅12.19%;户均持股市值由一季度末的21.49万元上升至33.33万元,增幅为55.10%。

指标注解:
市盈率
=总市值/净利润。当公司亏损时市盈率为负,此时用市盈率估值没有实际意义,往往用市净率或市销率做参考。
市净率
=总市值/净资产。市净率估值法多用于盈利波动较大而净资产相对稳定的公司。
市销率
=总市值/营业收入。市销率估值法通常用于亏损或微利的成长型公司。
文中市盈率和市销率采用TTM方式,即以截至最近一期财报(含预报)12个月的数据计算。市净率采用LF方式,即以最近一期财报数据计算。
市盈率为负时,不显示当期分位数,会导致折线图中断。